I'm curious what the MR community thinks Apple will (or won't) do about wireless charging.
Recently rumors have been heating up about Apple's plans for wirelessly charging the "iWatch."
Patents have been circulating for nearly two years which will have given Apple time to prepare the tech for wide release.
The TLDR is:
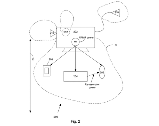
Apple has patented a tech that uses near-field magnetic resonance (NFMR) to wirelessly deliver power to a distance 1 meter (3.28 feet) away.
This means your next Apple computer could charge the keyboard, mouse and iOS device "through the air." While you work at your computer, your iPhone and iWatch are automatically charging.
One can safely assume that a separate device would be sold for those who have an iOS device but not a Mac. Imagine such a device on your nightstand. Now you can wear your iWatch all night to get sleep data and still have a full charge in the morning.
Such examples are obviously just a tip of the iceberg. Apple could license the technology in countless ways. Tables at Starbucks. Inside your car dashboard. Embedded on subways and other public locations.
(It should be noted that some observers claim the tech would not be powerful enough to power iPhones or iPads. However, that would most likely leave the "iWatch" in play.)
Assuming, for a moment, that safety is not an issue and Apple has done appropriate testing in that regard, wouldn't this tech be something "revolutionary" in the discussion of limited battery life and power hungry devices?
Wouldn't this change our everyday lives (even for wireless charging "naysayers?")
Curious to see what MR forum members think about this and what knowledge, thoughts, links, etc, we can dig up.

Recently rumors have been heating up about Apple's plans for wirelessly charging the "iWatch."
Patents have been circulating for nearly two years which will have given Apple time to prepare the tech for wide release.
The TLDR is:
Apple has patented a tech that uses near-field magnetic resonance (NFMR) to wirelessly deliver power to a distance 1 meter (3.28 feet) away.
This means your next Apple computer could charge the keyboard, mouse and iOS device "through the air." While you work at your computer, your iPhone and iWatch are automatically charging.
One can safely assume that a separate device would be sold for those who have an iOS device but not a Mac. Imagine such a device on your nightstand. Now you can wear your iWatch all night to get sleep data and still have a full charge in the morning.
Such examples are obviously just a tip of the iceberg. Apple could license the technology in countless ways. Tables at Starbucks. Inside your car dashboard. Embedded on subways and other public locations.
(It should be noted that some observers claim the tech would not be powerful enough to power iPhones or iPads. However, that would most likely leave the "iWatch" in play.)
Assuming, for a moment, that safety is not an issue and Apple has done appropriate testing in that regard, wouldn't this tech be something "revolutionary" in the discussion of limited battery life and power hungry devices?
Wouldn't this change our everyday lives (even for wireless charging "naysayers?")
Curious to see what MR forum members think about this and what knowledge, thoughts, links, etc, we can dig up.
