
A newly-published patent application from Apple (via AppleInsider) describes a method to allow users to "gift" media content purchased via iTunes and from their own libraries to other users through near-field communication (NFC), suggesting that the technology may eventually find a way onto iOS devices in the near future. The patent, which was filed back in March of this year and stretches over a lengthy 63 pages, describes a system whereby:
...an offer and acceptance of a selected gift file is accomplished between a gifter device and a receiving giftee device using a near-field communication (NFC) connection.

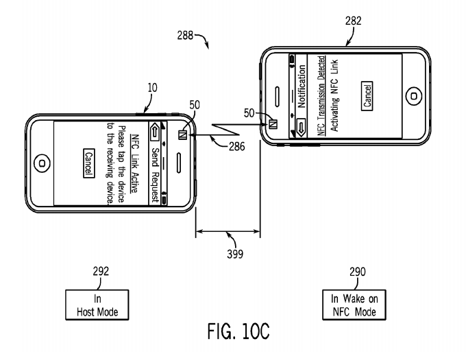
The filing shows a picture of a generic iPhone with an additional chip (labeled 50 in the above diagram) on both the front and rear of the device which may potentially allow users to exchange content through NFC. The patent describes two methods of "gifting" - either by purchasing the media directly from the iTunes Store and sending to another user's Apple ID or by sending a copy of already-owned media to another device, which is currently unavailable on all iOS devices.

The patented method involves digital media protection keys, such as a DRM key, that allows the "gifted" file to be only played on one device in accordance with copyright regulations. This is similar to the existing method of gifting through the iTunes Store, however the transfer would be over NFC, not the Internet or 3G. The NFC chip may allow for data transfer speeds of up to 560 Mbps, according to the filing, and may be compatible with the new TransferJet protocol, first developed by Sony, which allows for faster transfer speeds between devices. The new chips will have a range of 2-4 cm, so users do not physically have to touch phones.
Apple has so far shied away from NFC technology, instead stepping gingerly into scannable digital tickets, coupons, gift cards and loyalty cards with its own Passbook service introduced with iOS 6. This patent suggests, however, that the company is seriously considering NFC as a feature in upcoming devices. NFC is already available on several other devices, including those running Android, BlackBerry OS and Windows Mobile, and it allows users to achieve much more with their smartphones, including paying for goods and services (examples include Visa's payWave and Mastercard's PayPass) and using their smartphones on public transport, which is already being tested in several U.S. cities, including New York and Los Angeles.
Article Link: Apple Exploring Methods for Gifting Media Content Through NFC