
The U.S. Patent and Trademark Office published an Apple patent on Tuesday that shows the company has been researching a foldable iPhone design that uses a flexible OLED display.
First spotted by AppleInsider, a patent titled "Flexible display devices" describes an iPhone design that folds in two when not in use, reminiscent of the old clamshell cellphones Motorola used to make in the 1990s.
Apple's version utilizes a number of flexible parts including an OLED and a hinged metal support structure, made in one example of a nickel and titanium alloy known as nitinol, which has special elastic properties. Flexible polymers are used in alternative embodiments.
Apple envisions that the upper housing could include cameras, display controllers, speaker modules and light sensors, with the lower section of the chassis containing microphones, CPU and graphics processor, along with vibrating and other typical smartphone mechanisms.
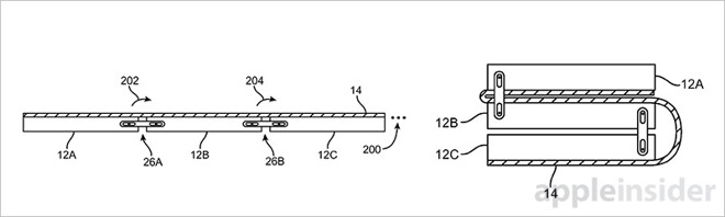
The two sections connect via a single- or multi-shaft hinge that allows them to rotate relative to each other, while flexible printed circuit boards keep the connection intact. The flexible display meanwhile runs over the two sections and includes extra material to support two or more folding configurations.
Apart from the the more familiar clamshell folding system, the patent describes how the display could fold outward, allowing both halves of the screen to remain accessible when the phone is closed shut. This second configuration also includes clips for fixing to the user's clothing.
Later in the patent, Apple explores other more elaborate embodiments including a two-hinge design vaguely reminiscent of a Jacob's Ladder toy, and goes on to consider cover glass and viewing angle details.
The patent is more a point of interest rather than an indication that Apple is set to release a foldable phone, however the research could make its way into other products. The technology could be implemented in a large iPad that folds away, for example.
In addition, next year's 10th anniversary "iPhone 8" is expected to include a flexible OLED display, but the traditional overall form factor will most likely remain.
Article Link: Apple Exploring Possibility of Foldable iPhone With Flexible Display
Last edited: