Become a MacRumors Supporter for $50/year with no ads, ability to filter front page stories, and private forums.

MacRumors

macrumors bot
Original poster


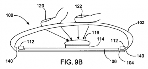
Hrmpf notes that Apple has applied for a patent (in March 2006) which extends the concept of Multitouch to a computer mouse.

mmouse_300.png


The user would be able to perform gestures such as pinching or a virtual scroll wheel on the surface of the mouse. In one embodiment, the touch-sensitive mouse would use an internal light source and a optically transmissive surface to track finger positions.

Gestures can also be used to invoke and manipulate virtual control interfaces, such as volume knobs, switches, sliders, handles, knobs, doors, and other widgets that may be created to facilitate human interaction with the computing system.

Combinations of taps or gestures could trigger different actions such as "tapping with the middle and ring fingers could open iTunes or be set in the preference panel to do any particular action."

Apple has had a number of patent applications related to multitouch technology in the past, and features multitouch technology prominently on the Apple iPhone.

Article Link
 
Very nice.

Multi-touch is going big, fast.


<<EDIT: That's not to say we'll necessarily see this in production any time soon, however.>>
 
Very interesting, they are probably putting multi touch every where to see where it will truly advance the user experience or not.

P.s sort out the original article
 
I'd buy that, then again, I also bought the first mighty mouse and that stopped working properly fast. Hopefully this technology would be better.

Looks like the perfect evolution of the technology, and I wouldn't be surprised to see others using it too, soon.
 
Now this is why I love Apple! The innovation that comes out of the company is amazing. I HATE the current scroll wheel, and was very disappointed that you can't open up the mouse to clean it properly. I was hoping they update it with a click wheel instead, but this design seems 10x better.
 
While I agree that the multi-touch mouse might be hard to use at first, it is probably a much better/easier alternative to having a multi-touch screen, as that might require a redesign of the ergonomic layout of apple's desktops
 
Now this is why I love Apple! The innovation that comes out of the company is amazing. I HATE the current scroll wheel, and was very disappointed that you can't open up the mouse to clean it properly. I was hoping they update it with a click wheel instead, but this design seems 10x better.

Would go back to the "one" button mouse. Would really cause all those windows users mental problems.
 
This does seem proper good, just been rubbing my mouse in the fashion that i imagine we would have to. If it's done properly it will be amazing!!!

Would be great if they include it with the new imac which will hopefully be released soon! 🙂
 
I'm willing to bet this is one of those patents that goes nowhere.

I can't see how this would work well.. most people rest their hands on the mouse, they'd have to lift them off to perform a pinch/flick, then back resting on the mouse again. Plus, unlike an iPhone screen, the potential for accidental gestures is fairly high.
 
This looks really sweet! Might actually make me buy an external mouse to my Macbook if this goes into production 🙂
 
Hell must be freezing over

This...From the company that for years wouldn't give us a two button mouse because it would be "too complicated for the average user"
 
Re: "Apple Investigating Mullettouch Mouse"

Upon reading that title, I was hoping Apple was releasing a more redneck-friendly version of their mouse -- possibly something in camo instead of white, with a beer holder.

Business in the front, party in the back.
 
I can't see how this would work well.. most people rest their hands on the mouse, they'd have to lift them off to perform a pinch/flick, then back resting on the mouse again. Plus, unlike an iPhone screen, the potential for accidental gestures is fairly high.

Really? I can't rest my hand on the mouse, my hand's too big (and I'm only 5'10")! Instead, I rest my fingers on the button, and thumb and another finger grab the side. Gives me ample room for moving my fingers to the scroll wheel, or to give gestures.

On my mighty mouse, I could easily move my index and middle finger to make a pinching/separating movement or to scroll without moving any other finger or my hand.
 
I do not buy it.

Even the mighty mouse is a pain to use, I disconnected the side buttons because sometimes I grabb the mouse and I get all application exposed without mean it, imagine adding more functions when the fingers usually express emotions themselves when you are stressed out or something.

I use the mighty mouse as a regular mouse, even the little ball stoped working long time ago.

Apple is in a situation here because they are trying to go around the touchscreen technology.

I have a custom 30" apple cinema screen with touch screen. It cost me almost $5.000 and it stoped working 3 months later.

The actual problem apple is facing is that not all the application works with touchscreen because their icons are so small. For example, to choose one of the Smilies of this web site would be a pain or all the options we have in the menues to create links and so. That is why touchscreen for apple wouldn't work for everyone.

Having a mouse with the capabilities... you have all your fingers over that surface all the time doing stuff by themselves, it will drive me crazy, with a touchscreen you just go and press on top of what you want.

Is going to be a complicated case and Apple have been working around that for years since the rumors of the tablet.

Good luck
 
Good luck Apple. Not so great at keyboards and mice in the past...
Have to admit my iMac has MS keyboard and mouse 😱
 
Really? I can't rest my hand on the mouse, my hand's too big (and I'm only 5'10")! Instead, I rest my fingers on the button, and thumb and another finger grab the side. Gives me ample room for moving my fingers to the scroll wheel, or to give gestures.

On my mighty mouse, I could easily move my index and middle finger to make a pinching/separating movement or to scroll without moving any other finger or my hand.

I guess my hands are about average (haven't thought about it that much! 😛 ), but I rest the palm of my hand on the rear of the mouse, hold it between my thumb and little finger and use my index & middle fingers to click the buttons/use the scroll wheel.

Like this, it'd be very uncomfortable to do pinching actions without lifting my hand off mostly or entirely off the mouse.
 
those fingers look really distorted, but I think that multi-touch will definitly be big in the future, although perhaps the mouse is not the best platform for it. A multi-touch secondary screen on the keyboard, on the other might be more natural
 
cool, hopely it won't wost very much, because a mighty mouse with a cord already costs 29,99 €
 
those fingers look really distorted, but I think that multi-touch will definitly be big in the future, although perhaps the mouse is not the best platform for it. A multi-touch secondary screen on the keyboard, on the other might be more natural

Honestly, I can see something like this working with a laptop trackpad, but not a mouse. The curvature of the mouse casing would make it very difficult to use.

Now, if apple created a flat "mouse" that was essentially a slightly larger than the average trackpad, they could have something. You could think of it as a small, finger operated, Wacom tablet.

Hickman
 
Register on MacRumors! This sidebar will go away, and you'll see fewer ads.