
Apple has filed for a United States patent detailing a quantum dot-enhanced liquid crystal display with a dichroic filter that can provide a greater accuracy of colors over traditional displays, reports AppleInsider. Similar technology is currently being used by Amazon in the Kindle Fire HDX 7, which significantly outperforms that of the Retina iPad mini with regard to color gamut and accuracy.
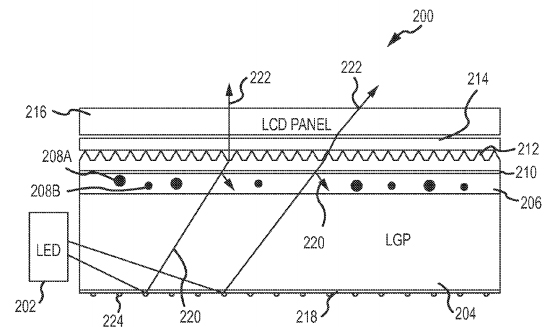
Apple goes on to note that one of the issues with quantum dots is the toxic nature of their contents, going on to suggest that cadmium-free quantum dots or heavy metal-free quantum dots could be used in order to alleviate the problem. The patent also suggests that there "remains a need" for designing the quantum-dot enhanced display to achieve more breakthroughs before it becomes ready for general use, including reduced toxicity, improved performance, and lower cost in fabrication.As one example, Quantum dots (QDs) are semiconductors in the form of nanocrystals that provide an alternative display. The electronic characteristics of the QDs are generally governed by the size and shape of the nanocrystals. Quantum dots of the same material, but with different sizes, can emit light of different colors when excited. More specifically, the emission wavelength of the QDs varies with a size and shape of the quantum dots. As one example, larger dots may emit longer wavelength light, such as red light while smaller QDs may emit shorter wavelength light, such as blue light or violet light.
Meanwhile, the dichroic filter that would be deployed on the quantum dot display would help reduce the density and toxic content of the quantum dots, and would also improve color and luminance levels, resulting in a more vibrant and accurate display. The filter itself would help in transmitting red light and a green light while reflecting most of a blue light, so that white light can be produced and ultimately benefit color accuracy as a whole.
It is not known exactly if or when Apple plans to integrate quantum dot enhanced displays in its products, but the company would have incentive to do so given criticisms of the Retina iPad mini display compared to Google's and Amazon's 7-inch tablets. Beyond mobile devices, quantum dot displays may also make their way to notebook computers, televisions and other consumer electronics over time.
Article Link: Apple Looks to Improve Displays with Research on Quantum Dot Technology