
The U.S. Patent and Trademark Office (USPTO) published a newly-granted Apple patent (via AppleInsider) addressing a means for extending the multi-touch input present on Apple's touchscreen devices to the airspace above the screen, allowing for 3D manipulation of objects via 3D gesture inputs.
The patent, which was filed in July 2012 and is entitled "Working with 3D objects", describes a system that detects both 2D objects in a user interface and a 3D gesture input close to the device's surface, which then generates a 3D object that is presented in the user interface of the device.
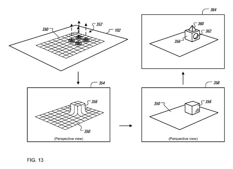
Techniques and systems that support generating, modifying, and manipulating 3D objects using 3D gesture inputs are disclosed. For example, 3D objects can be generated based on 2D objects. A first user input identifying a 2D object presented in a user interface can be detected, and a second 3D gesture input that includes a movement in proximity to a surface can be detected. A 3D object can be generated based on the 2D object according to the first and second user inputs, and the 3D object can be presented in the user interface where the 3D object can be manipulated by the user.
The idea of controlling a device using gestures is not new, however. The Samsung Galaxy S4 currently features a technology known as "Air Gesture", which allows the user to control their device using a number of simple gestures. But Apple's patent covers different technology -- whereas Samsung uses a light sensor to detect the user's gestures, Apple's technology would instead be embedded into the device's screen.
Article Link: Apple Receives Patent for 3D Gesture Control on Touchscreen Devices