
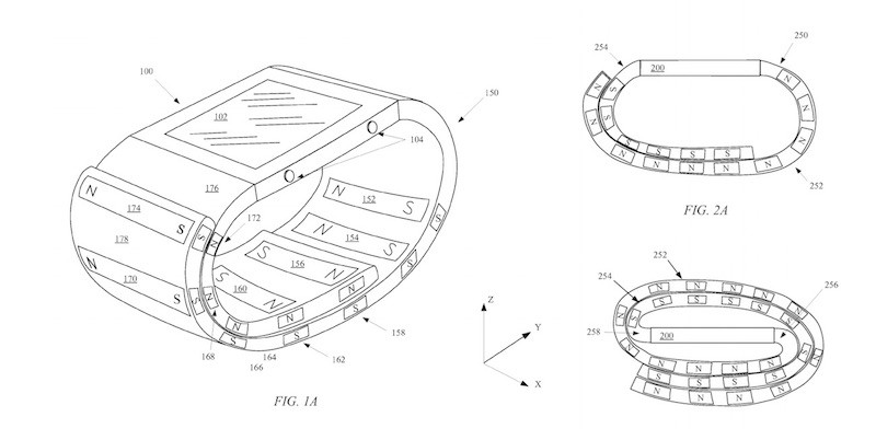
The United States Patent and Trademark Office today published a patent filed by Apple last August, which detailed an Apple Watch band accessory that could double as a "protective cover" for the device itself when not on a user's wrist (via AppleInsider). Referred to as the "Magnetic wristband," the accessory would be similar in function to the Leather and Milanese Loop bands sold today but include multiple "configurations" to introduce more utility to users.
The first configuration would essentially turn the band into the Apple Watch's own protective casing, coiling around the device and linking together magnetically the same way it would when placed on a wrist. The patent iterates on the fact that when removed, the Apple Watch "can be subjected to even greater forces and damage than when worn by the user," and as such, a way to protect the wearable device without any outside, third-party equipment could be greatly beneficial to each wearer.
Another configuration of the proposed band includes multiple ways to display the watch when it's not in use on a wrist. Using the band's magnetic technology, Apple's patent proposes simple solutions of being able to attach the entire product onto surfaces like a refrigerator or computer's bezel to keep it in sight. Another idea suggests the magnetic wristband could be rolled up into itself to create a sort of on-the-fly stand for the Apple Watch.
As with any patent story, the magnetic wristband is far from a confirmed lock for the upcoming "Apple Watch 2," but since it's long been rumored the company will most likely introduce new bands for the second generation device, it is an interesting possibility of where Apple could go with the wearable this year. With news surrounding the possible start of a trial production run on the next Apple Watch as early as this month, it's not too long that users should have to wait for the official announcement of the device. Current estimates place the reveal in March with a launch in April.
Article Link: Apple Watch 'Magnetic Wristband' Patent Could Double as Protective Case