Become a MacRumors Supporter for $50/year with no ads, ability to filter front page stories, and private forums.

MacRumors

macrumors bot
Original poster



Back in March 2008, an Apple patent application was published showing concepts for digital video recorder (DVR) and other television-related interfaces. While the focus of the patent application was actually on menu overlays appearing on top of video content, it did generate a fair amount of interest as evidence that Apple was at least thinking about how it could make television software more intuitive. The document dated back to a provisional patent application filed by Apple on September 11, 2006, the day before Apple first introduced its "iTV" set-top box that launched a few months later as the original Apple TV.

apple_television_interface_record.jpg
With Apple's rumored plans for a television set continuing to gain momentum, Patently Apple notes that a reappearance of the patent as it has finally been granted by the U.S. Patent and Trademark Office will once again spark interest in Apple's television plans.

apple_television_interface_lost.jpg
apple_television_interface_csi.jpg
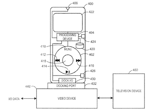
Beyond a number of figures showing Apple's concepts for television menus, the patent also contains reference to the use of an iPod-like device as a remote control for the television content.

apple_television_ipod_remote.jpg
The idea of an Apple television set has been circulating for a number of years, with Piper Jaffray analyst Gene Munster being one of the strongest proponents of such a device. The rumors gained considerable steam late last year with the publication of Steve Jobs' authorized biography, in which he was quoted as saying he had "finally cracked" how to create a truly easy-to-use television built around the "simplest user interface you could imagine". That revelation was quickly followed with a report from The New York Times claiming that Apple was looking to launch a Siri-powered television set by late 2012 or early 2013. Additional rumors have trickled out since that time, although they have slowed considerably in recent months as attention has focused on the iPhone.

Article Link: Apple's 2006 Ideas for DVR and Television Interface Reappear in Newly-Granted Patent
 
Lost

Lost ????? Seriously ???

They've just lost a sale!😡

In 2006, LOST was in its 2nd/3rd season. And it was one of the first shows available for digital purchase through iTunes (along with Desperate Housewives). Absolutely makes sense that this would be on their sketches.

Plus, it is one of the best network dramas of all time and I'll have words with anyone who says differently! 😀

(Long time reader of the forums, first time poster. Congrats! This caused me to sign up! lol)
 
Just because this mentions DVR doesn't mean it will ever be included.

And this UI would work on the stb so it says nothing yeah or nay about a real tv set.
 
Very nice, they are acquiring ideas from the mac instead of iOS, pretty unexpected! If Apple makes a tv and a dvr that I can use with current tvs at a fair price I'm ditching my tv and internet service and getting super fast internet for my iTV 🙂
 
Thank God Apple's technical drawing guys don't do their graphic design.

You don't know that.

Patent drawings are always low on the details because they matter a lot. You can lose a patent fight over specifics even if they are just in a drawing.
 
In 2006, LOST was in its 2nd/3rd season. And it was one of the first shows available for digital purchase through iTunes (along with Desperate Housewives). Absolutely makes sense that this would be on their sketches.

Plus, it is one of the best network dramas of all time and I'll have words with anyone who says differently! 😀

(Long time reader of the forums, first time poster. Congrats! This caused me to sign up! lol)

this man speaks the truth!
 
Lost ????? Seriously ???

They've just lost a sale!😡

So you'd refuse to buy a produce because of how an image was drawn on a patent application? Wow, you're not a 12 year old troll at all, are you. 🙄

----------

Img. 25 kind of looks like an old episode of King of Queens. Young Kevin James.

I thought it looked like the guy from GTA Vice City that you see in the beginning cutscene 😛
 
The idea of a DVR belongs to the 1990-2009 period. After using Netflix for a month, I can't imagine being limited to what is currently being broadcasted, even if it's recorded to be watched at a later time.
 
Where is the content coming from?

That's the biggest thing.....not the interface or the device...which is important of course....but it's all about content.

Can they offer equivalent selection and competitive pricing to Dish, DirecTV, cable....????

I don't care how slick your device is. If you don't have anything I want to watch....you're out.
 
The idea of a DVR belongs to the 1990-2009 period. After using Netflix for a month, I can't imagine being limited to what is currently being broadcasted, even if it's recorded to be watched at a later time.

While on-demand programming is a superior way to watch pre-taped programmings, DVR is still useful for recording contents not available as on-demand as well as live programs (e.g., news, sports).
 
I'm holding out for the Samsung Galaxy Nexus S4 55.454" LED 3D 480HZ Wifi Max 4G LTE


I heard that will be the real iTV killer
 
The more I think about this, the more I tend to believe Apple doesn't want to make a TV.

They're going to make a digital cable/satellite set top box.
 
Register on MacRumors! This sidebar will go away, and you'll see fewer ads.