
The United States Patent and Trademark Office today granted Apple a patent for a "Stylus with inertial sensor," equating to an advanced version of the Apple Pencil that could potentially function with the company's iMac-compatible Magic Trackpad (via Patently Apple). The patent was originally filed in November 2014, but was only recently published in May of 2016.
The patent briefly mentions the combination of the Apple Pencil and Magic Trackpad (or "electronic equipment"), which would receive "electromagnetic signals from electrodes at the first end of the stylus" and translate a user's drawing into a compatible iMac program. The potential integration could bring artistic drawings and programs to Apple's desktop line, similar to the boom such apps saw with the release of the Apple Pencil and iPad Pro last year.
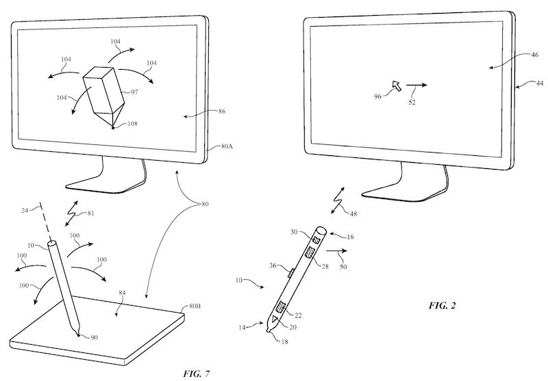
Overall, the new patent details a next-generation Apple Pencil with a far greater technological reach than the current version of the stylus. The proposed update could bring in-air gestures in order to let users control Keynote slides or rotate objects on an iMac screen, turn the accessory into a joystick for games, or even use the Apple Pencil as "an air mouse" in lieu of the Magic Trackpad itself.
Apple Pencil used as a joystick for interacting with 3D objects (left) and air mouse (right)
Although Apple was granted the patent today, as with other patents, it's a good idea to remain wary as to how long it will take the company to announce, reveal, and release such a device like the Apple Pencil described here, if it ever will. All the same, it would appear a safe bet that a new version of the stylus could pack in some of these motion-sensing features, even if it's still limited to the iPad line.
Article Link: Future Apple Pencil Could Include Motion Sensors and Magic Trackpad Compatibility