
Apple today was awarded U.S. Patent No. 8,633,916 (via AppleInsider), which describes a touchpad that utilizes force sensors and acuator feedback. The buttonless design uses an array of sensors and an actuator to mimic the function and tactile feedback of the current trackpad found in the company's MacBook product lines.
Currently, Apple's trackpad technology is based on an integrated button design. Surface touch sensors track the movement of fingers and a hinged button allows the trackpad to click when a user presses down on it. A switch located under the trackpad is actuated when a click pivots the trackpad downward on its rear hinge. The pivoting motion of this button makes it difficult to click near the rear edge of the trackpad and requires extra space within the chassis of the notebook.
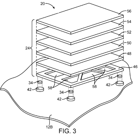
In the newly awarded patent, which was filed in December 2009, Apple builds upon its current design by using a surface touch sensor and four corner force sensors to track finger movement and clicking input from the user. An actuator would be used to provide tactile feedback. Also similar to the current trackpad, a buttonless trackpad may have user-customizable settings that adjust the sensitivity levels for the click pressure or the tactile feedback.
Whether Apple chooses to incorporate this new trackpad technology or not is unknown, but a move to do so would make sense considering that Apple's multi-touch trackpad debuted with the MacBook Air in 2008, and has made its way to every MacBook since then. But given the fact that it has been over four years since the patent's filing, Apple may simply have abandoned the proposed design for unknown reasons.In addition to processing touch sensor signals to determine the location of touch events, signals from the force sensors may be processed. A rectangular touch pad may have four corners. Force sensors may be mounted under each of the four corners. When a user presses on the surface of the touch pad, the force sensors may pick up four corresponding independent force signals.
Tactile feedback may be provided using an actuator. The actuator may be controlled by actuator drive signals. As a user of an electronic device interacts with the touch pad, the user may make gestures and perform other touch-related tasks. When the user desires to select an on-screen object or perform other tasks of the type traditionally associated with button actuation events, the user may press downwards against the surface of the track pad. When sufficient force is detected, appropriate action may be taken and drive signals may be applied to the actuator. The actuator may impart movement to the touch pad.
Article Link: Future Mac Notebooks Could Feature 'Buttonless' Trackpad Design
Last edited: