
Apple is looking at ways to offload the Apple Watch's haptic feedback mechanism from the device's chassis to the wrist strap, according to a new patent application.
Published by the U.S. Patent and Trademark Office and spotted by AppleInsider, the patent application for a "Band attachment mechanism with haptic response" describes a band capable of alerting the wearer to incoming alerts and other notifications.
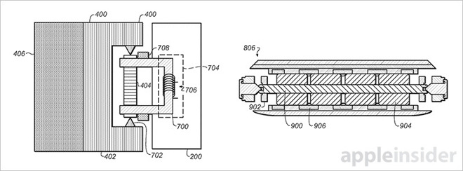
Applied to Apple's timepiece, the proposed design would serve to reduce the thickness of the chassis by transferring the linear actuator assembly to the bottom or the side of the wearer's wrist.
The document describes a hardware component outside the main casing that is able to move laterally and side to side relative to the watch chassis, with other embodiments able to move up and down or rotate around the axis, in contrast to existing embodiments which are limited to back-and-forth movements.
This would allow the outside mechanisms to reproduce the various movements of Apple's Taptic Engine, such as taps and shakes, with further variations possible depending on the integrated haptic subsystem.
The patent goes on to describe ways in which haptic devices could be embedded in the smartwatch band, such as within the strap buckle or spring bars, presumably receiving motion instructions via a hardwired connection.
Perhaps in contrast to some of Apple's other products, making the next-generation Apple Watch thinner would likely be welcomed by users. Locating the actuator outside the casing would also likely make haptic feedback more noticeable to the wearer.
The patent application was filed relatively recently, in June of this year, suggesting such a feature could still be included in the next iteration.
Article Link: Haptic Feedback Wrist Band Could Make for Thinner Apple Watch