
Apple has been awarded a patent by the U.S. Patent and Trademark Office (via AppleInsider) detailing an "electronic device display module" for a laptop that would include the ability to act as a secondary rear display featuring touch controls. The patent also details a photovoltaic system located in the display unit which could power the device with solar energy.
The electrochromic glass that could be integrated into the rear display is also detailed, as the glass would receive signals from light sources with the ability make itself opaque or translucent depending on user input. In theory, this would allow the rear display to remain hidden from view when not in use, which would assist in preserving battery life and privacy.
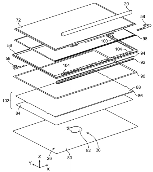
The display may be controlled using timing and control circuitry on a display driver board. The driver board may be mounted within a clutch barrel that contains the hinges. The driver board may be mounted within the clutch barrel so that it lies perpendicular to the plane of the display or may be oriented at other orientations such as orientations that are within plus or minus 10.degree. or 20.degree. from perpendicular, orientations that are parallel to the plane of the display, or other orientations.
It is unknown whether Apple plans to create such a product or not, but the company has researched similar technology before. A patent in August 2012 detailed significantly enhanced iPad Smart Covers with secondary displays and solar cells, and a patent in 2008 showed the company's interest in producing solar LCD powered iPods, iPhones, and laptops.
Other reports on Apple's interest in solar-powered devices have also popped up on numerous occasion throughout the years, though it is unclear as to whether Apple is ready to make a serious attempt at integrating the technology into its products or is still focused solely on researching methods.
Article Link: Solar-Powered Laptop with Dual-Sided Display Detailed in Apple Patent