Become a MacRumors Supporter for $50/year with no ads, ability to filter front page stories, and private forums.
Re: Culturally Different Phrases

I lived in Europe for awhile (USA born & bred) and although it may take most Yanks a TREMENDOUS effort to expand their minds, it makes common sense to call the 1st floor of a building the 1st floor, not a special term like 'ground floor.'

Once you get use to it...wow, how easy to remember and how clear.

It's like the idea of thinking our USA game of football is actually 'football.' -- Football implies a game played with one's feet (D'uh).

It's okay to have our own terms for our own things but to think they are best or the only way is narrow minded, to say the least.

Now...I'd suggest too that, if a man, that going into a clothing store and asking to buy a pair of 'suspenders,' might cause an unexpected response.
 
This sort of idiotic fawning over a set of stairs is emblematic of everything that's wrong with fanboyism.
 
I dunno, I admire the technology and engineering required to create stairs like this, but I also find it pretty gaudy.

In terms of safety, longevity, and maintenance, glass is really not a good material for things that people walk on or constantly stay in close proximity to.

Most of (not that I've seen all of) the stairs and walkway pieces of glass are extremely thick and appear to be two thick pieces laminated together. I noticed that the glass also seems to have gotten thicker from what I originally remember it being.

The glass plays against our innate archetypal fear of falling. More subtle than that platform that extends past a cliff face in the Grand Canyon (I believe).

Plus glass and chrome just looks sexy and amazing. Sure, it might get dated when force field star treads come out but that's pretty safely in our distant future.

I read somewhere where the stair treads are so strong that the glass has to be cut with special tools.

The stair case is like the spiral stairs in the original 747 which a few people have been to integrate into their homes. If I lived in a two story house, I'd put a spiral stair in, and if I had the money I'd do glass. It's just so...

----------

This sort of idiotic fawning over a set of stairs is emblematic of everything that's wrong with fanboyism.

Then count me a fanboy of stunning architecture!

I went to New York for the first time and didn't even look at the ground once! The ornate buildings and amazing use of windows and sandstone. It was like music playing in the air, until you hit a 'new' building, and it was like the principle violinist had a stroke mid-performance. And London England? Hah! My God but the English had a flair for ornate buildings. I was in love. My pictures from that trip are almost all buildings and archways and such. And the Apple Stores are striking in their own ways but definitely not 'mundane'...

To not appreciate art and architecture is being truly blind IMO...
 
From what I can see, the glass central cylinder column for the base support and and the outer panes is held by the several spiraling 2" thick glass stairs. It seems to support itself and gives an illusion of whats holding it together without falling.

I'm still marvelled on the level of engineering to create these glass staircases.

As an engineer, I would say that the level of engineering required for something like this is actually not that high. All you need to know are the max weight that the stairs will be subjected to and the Young's modulus of the glass; the rest is pretty simple math. No one would look twice at a stairway like this made of cement, and glass is actually quite a bit stronger.

While it definitely is an impressive look, it's not a magical stairway - you can see the cable ties on the ceiling that hold the whole thing up. From a design standpoint, I think it clashes with the rest of the building pretty horribly. Sweeping curves against all those bold, straight lines? Ugh.
 
I was in the store and walked the fabled staircase.
It was as tedious as any other spiral staircase, and the steps are layered in a heavy textured, translucent glass, so it's not like walking on transparent glass.
They kept someone with a little broom and dust pan sweeping the staircase almost constantly.
The store itself is big but has low ceilings and an open plan supported by a forest of columns. The space was a bit dark. It used to be a big bank. It has an open square in the middle that looks brighter.
It's just lots of tables with products grouped by type.
There were lots of people milling around and many of them smelled very sweet. I suspect that a lot of stoned tourists go visit the store because it is situated at a square where every tourist in Amsterdam is most likely to pass through.
 
Last edited:
The photographer must have breached some contract. Though it is good to know that Apple hires locals photographers on these assignments.
 
What would be really cool is a platform elevator in the center, but it would probably be impossible to make it safe.
 
They should be careful, an 83 year old may not see those steps and walk into them
 
Same material and bacic contruction as our San Francisco store stairs just a different application. Opened in 04 and extremely busy all day long each day since.....Stairs still look good today.
See SF store details below to get a basic idea of the Amsterdam site.

If you're so inclinded.

SFApplestairs.jpg



http___pdfifomancoms3amazonaws.jpg


http___pdfifomancoms3amazonawsFIG2.jpg


http___pdfifomancoms3amazonawsFIG3B.jpg


http___pdfifomancoms3amazonawsFig1.jpg


http___pdfifomancoms3amazonawsFIG3A.jpg


http___pdfifomancoms3amazonawsFIG4A.jpg


http___pdfifomancoms3amazonawsFIG12.jpg


http___pdfifomancoms3amazonawsFIG5A.jpg


http___pdfifomancoms3amazonawsFIG6.jpg


http___pdfifomancoms3amazonawsFIG6A.jpg


http___pdfifomancoms3amazonawsFIG7.jpg


http___pdfifomancoms3amazonawsFIG8.jpg


http___pdfifomancoms3amazonawsFIG9.jpg


http___pdfifomancoms3amazonawsFIG10.jpg


http___pdfifomancoms3amazonaws3.jpg


http___pdfifomancoms3amazonaws2.jpg


----------

What is claimed is:
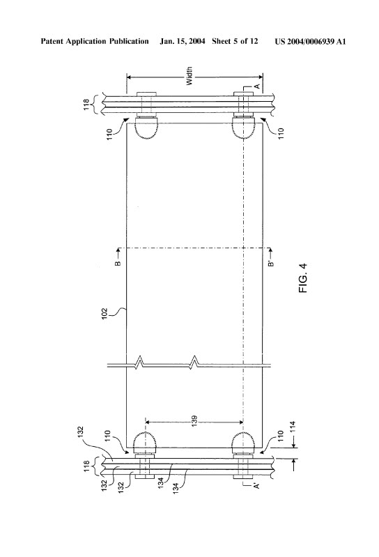
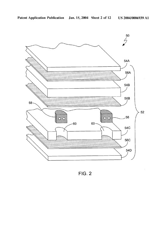
1. A monolithic glass member for supporting loads, comprising: a plurality of glass sheets, one of the
glass sheets having a cut out at an edge thereof; a connector disposed in the cut out of the one glass sheet,
a portion of the connector being exposed at the edge of the glass member, the connector providing a
means for connecting and supporting the glass member relative to other structures; and a bonding layer
disposed between adjacent pairs of glass sheets, the bonding layer being configured to bond the glass
sheets and the connector together to form a laminated structure and to provide rigidity and stiffness to the
laminated structure.
2. The glass member as recited in claim 1 wherein the glass sheets are annealed glass sheets.
3. The glass member as recited in claim 1 wherein the bonding layer is a polymer.
4. The glass member as recited in claim 1 wherein the bonding layer is Sentry Plus Ionplast Interlayer.
5. The glass member as recited in claim 1 wherein the glass sheets have a low concentration of iron.
6. The glass member as recited in claim 1 wherein the connector is formed from titanium.
7. The glass member as recited in claim 1 wherein the one glass sheet includes a second cut out at a
second edge that is opposite the first edge, and further including a second connector disposed in the
second cut out of the one glass sheet, a portion of the insert being exposed at the second edge of the glass
member, the connector providing a means for connecting and supporting the glass member relative to
other structures.
8. The glass member as recited in claim 1 wherein the glass member is only supported at the first and
second edges thereof by the first and second connectors
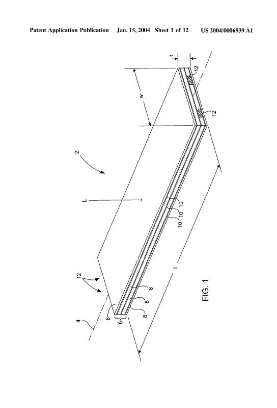
9. The glass member as recited in claim 1 wherein glass member spans from the first edge to the second
edge a length of between about 7 and about 8 feet
10. The glass member as recited in claim 1 wherein the glass member supports loads from foot traffic of
one or more persons.
11. The glass member as recited in claim 1 wherein the glass member is a tread of a stair, a landing of a
staircase, a platform of a bridge or a platform of a floor.
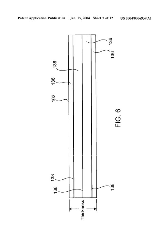
12. The glass member as recited in claim 1 wherein the glass member includes four glass sheets and three
bonding layers.
13. The glass member as recited in claim 1 wherein the one glass sheet includes two or more cut outs at
an edge thereof and further including connectors disposed in the cut outs of the one glass sheet, a portion
of the connectors being exposed at the edge of the glass member, the connectors providing a means for
connecting and supporting the glass member relative to other structures.
14. The glass member as recited in claim 1 wherein the one glass sheet includes two or more cut outs at a
second edge that is opposite the first edge, and further including connectors disposed in the cut outs of the
one glass sheet, a portion of the connectors being exposed at the edge of the glass member, the connectors
providing a means for connecting and supporting the glass member relative to other structures.
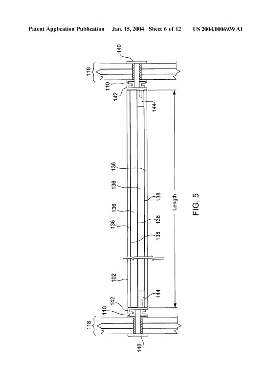
15. A glass tread or riser of a stair, comprising: a plurality of glass sheets that are bonded together via one
or more Sentry Glas Plus Ionplast Interlayers to form a laminate structure, the laminate structure having a
top surface, a bottom surface and an edge formed therebetween, the laminate structure being configured
to be secured only at the edge and to support human loads that are applied normal to the top surface.
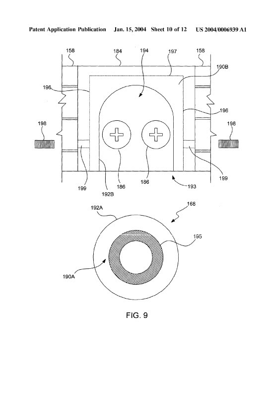
16. A glass laminate structure, comprising: a titanium insert disposed within the bonded glass layers of
the glass laminate structure, the titanium insert being positioned at the edge of the glass laminate structure
so as to allow the glass laminate structure to be connected to other structures.
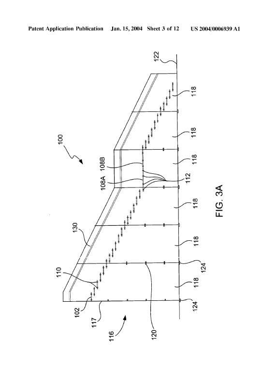
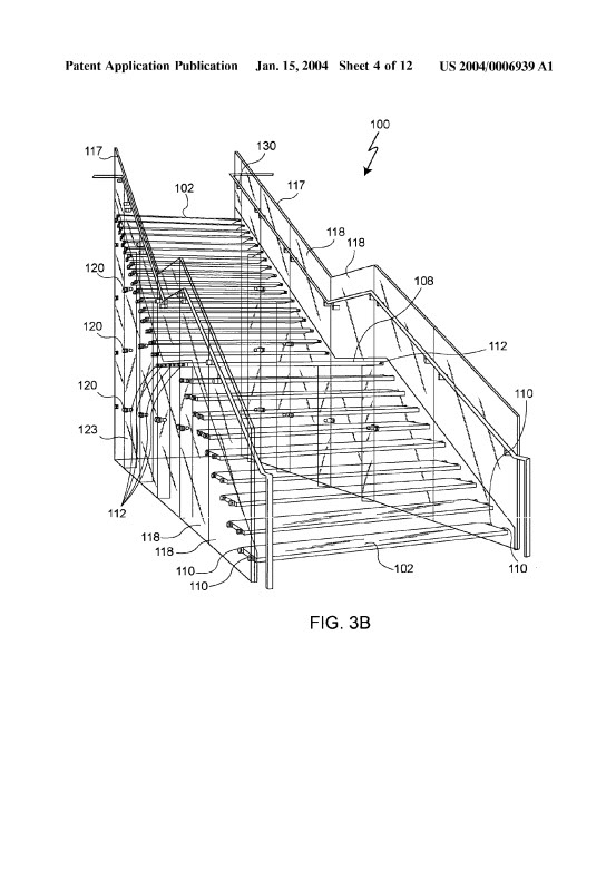
17. A staircase, comprising; a pair of spaced apart vertical walls; a plurality of horizontal glass treads
positioned between the spaced apart vertical walls in a stepped apart relationship relative to one another,
each of the glass treads having opposing ends; a plurality of connection arrangements for fixing the
opposing ends of the horizontal glass treads to the spaced apart vertical walls, each of the connection
arrangements including a first connection member that is adapted to be fixed to the vertical wall and a
second connection member adapted to be fixed to the end of the glass horizontal tread, the first
connection member having a first interlocking portion, the second connection member having a second
interlocking portion, the first and second interlocking portions being configured to engage one another so
as to place the horizontal glass tread in a secure relationship relative to the vertical walls.
18. The staircase as recited in claim 17 wherein the vertical walls are formed from glass.
19. The staircase as recited in claim 18 wherein the vertical walls and horizontal glass treads are
laminated glass structures.
20. The staircase as recited in claim 19 wherein the vertical walls are formed from a first laminated glass
structure and wherein the horizontal glass tread is formed from a second laminated glass structure that is
different than the first laminated glass structure.

----------

21. The staircase as recited in claim 17 wherein the horizontal glass tread is a laminated glass structure,
wherein the second connection member includes an insert that is disposed within the laminated glass
structure at each of its opposing ends, and wherein the second interlocking portion is coupled to the insert.
22. The staircase as recited in claim 17 wherein the interlocking portions may be disengaged from one
another so as to so as to place the horizontal glass tread in a removable relationship relative to the vertical
walls.
23. An apparatus for affixing an end of a glass stair to a support structure, the apparatus comprising: a
first connection member adapted to be fixed to the support structure, the first connection member having
a first interlocking portion; a second connection member adapted to be fixed to the end of the glass stair,
the second connection member having a second interlocking portion, the first and second interlocking
portions being configured to engage one another so as to place the glass stair in a secured relationship
relative to the support structure.
24. The apparatus of claim 23 wherein the glass stair is a laminate structure, and wherein the second
connection member has an insert that is interposed within the laminate structure at an edge of the glass
stair.
25. The apparatus of claim 24 wherein the second interlocking portion is capable of being coupled to the
insert.
26. The apparatus of claim 24 wherein the insert is formed from titanium.
27. The apparatus of claim 23 wherein the first and second interlocking portions are formed from stainless
steel.
28. The apparatus of claim 23 wherein the second interlocking portion is capable of being coupled to the
first interlocking portion.
Description

----------

CROSS REFERENCE TO RELATED APPLICATION
[0001] This application claims the benefit of U.S. Provisional Application No. 60/396,306, filed on Jul.
15, 2002, entitled "Glass Support Member", in which the disclosure is incorporated herein by reference.
FIELD OF THE INVENTION
[0002] The present invention relates generally to glass structures. More particularly, the present invention
relates to glass members for supporting loads.
BACKGROUND OF THE INVENTION
[0003] Glass structures such as stairs, floors and bridges have been around for some time. Each of these
structures typically includes a glass member for supporting loads from foot traffic. For example, stairs
may include glass treads, risers or landings, and floors and bridges may include glass platforms. Because
of the structural requirements for supporting these types of loads, the glass members are typically formed
from a laminate structure that includes various layers of glass and bonding materials. The laminate
structure is much stronger than any one layer by itself and thus it can support heavier loads such as those
caused by foot traffic. In recent years, the layers of glass have been bonded together with polyvinyl
butyral (PVB), i.e., a layer of PVB is disposed between two glass layers. For long spans, however, the
laminate structure typically has to be supported in the middle of the span to prevent deflection thereof
when loads are applied thereto. For example, a steel beam may be positioned at the middle of the laminate
structure to prevent deflections. Although such arrangements work well, there are continuing efforts to
improve laminate structures so as to provide glass members that are more aesthetically pleasing and that
can support larger loads over longer spans without the use of a middle support structure.
SUMMARY OF THE INVENTION
[0004] The invention relates, in one embodiment, to a monolithic glass member for supporting loads. The
glass member includes a plurality of glass sheets. One of the glass sheets has a cut out at an edge thereof.
The glass member also includes a connector disposed in the cut out of the one glass sheet. A portion of
the connector is exposed at the edge of the glass member. The connector provides a means for connecting
and supporting the glass member relative to other structures. The glass member also includes a bonding
layer disposed between adjacent pairs of glass sheets. The bonding layer is configured to bond the glass
sheets and the connector together to form a laminated structure and to provide rigidity and stiffness to the
laminated structure.
[0005] The invention relates, in another embodiment, to a glass support member. The glass support
member includes a plurality of glass sheets that are bonded together via one or more Sentry Glas Plus
Ionplast Interlayers to form a laminate structure. The laminated structure has a top surface, a bottom
surface and an edge formed therebetween. The laminate structure is configured to be secured only at the
edge and to support human loads that are applied normal to the top surface.
[0006] The invention relates, in another embodiment, to a glass laminate structure. The glass laminate
structure includes a titanium insert disposed within the bonded glass layers of the glass laminate structure.
The titanium insert is positioned at the edge of the glass laminate structure so as to allow the glass
laminate structure to be connected to other structures.
[0007] The invention relates, in another embodiment, to a staircase. The stair case includes a pair of
spaced apart vertical walls. The stair case also includes a plurality of horizontal glass treads positioned
between the spaced apart vertical walls in a stepped apart relationship relative to one another. Each of the
glass treads has opposing ends. The stair case further includes a plurality of connection arrangements for
fixing the opposing ends of the horizontal glass treads to the spaced apart vertical walls. Each of the
connection arrangements includes a first connection member that is adapted to be fixed to the vertical
wall and a second connection member adapted to be fixed to the end of the glass horizontal tread. The
first connection member has a first interlocking portion, and the second connection member has a second
interlocking portion. The first and second interlocking portions are configured to engage one another so as
to place the horizontal glass tread in a secure relationship relative to the vertical walls.
[0008] The invention relates, in another embodiment, to a apparatus for affixing an end of a glass stair to
a support structure. The apparatus includes a first connection member adapted to be fixed to the support
structure. The first connection member has a first interlocking portion. The apparatus also includes a
second connection member adapted to be fixed to the end of the glass stair. The second connection
member has a second interlocking portion. The first and second interlocking portions are configured to
engage one another so as to place the glass stair in a secured relationship relative to the support structure.
 
Last edited:
I dunno, I admire the technology and engineering required to create stairs like this, but I also find it pretty gaudy.

In terms of safety, longevity, and maintenance, glass is really not a good material for things that people walk on or constantly stay in close proximity to.

You should definitely contact people from the Grand Canyon Skywalk ASAP... I'm quite sure they need your architectural and technical expertise.
 
I lived in Europe for awhile (USA born & bred) and although it may take most Yanks a TREMENDOUS effort to expand their minds, it makes common sense to call the 1st floor of a building the 1st floor, not a special term like 'ground floor.'

Once you get use to it...wow, how easy to remember and how clear.

It's like the idea of thinking our USA game of football is actually 'football.' -- Football implies a game played with one's feet (D'uh).

It's okay to have our own terms for our own things but to think they are best or the only way is narrow minded, to say the least.

Here's a Wikipedia copy/paste to clarify the "which floor" thing for all. I personally tend to favor the "first floor" being the ground level floor, but I see it used both ways all the time up here in Minneapolis/Saint Paul.

Wikipedia quote:

There are two major schemes in use across the world. In one system, used for instance in the majority of Europe, the ground floor is the floor on the ground and often has no number or is assigned the number zero. Therefore the next floor up is assigned the number 1 and is the first floor. The other system, used in the United States for instance, counts the bottom floor as number 1 or first floor.
 
Yep, cuz that's almost the same thing, right? :rolleyes:

Well I'm not architect and not even pretend to be one... but it's a public place, it's made with glass, people walk on it and it's done by probably ones of the best architects in the world... so I'd say: "yeah, that's almost the same thing"
 
Well I'm not architect and not even pretend to be one... but it's a public place, it's made with glass, people walk on it and it's done by probably ones of the best architects in the world... so I'd say: "yeah, that's almost the same thing"

It isn't, but you are certainly entitled to your uninformed opinion. Cheers. ;)

And no one in the industry outside of Vegas has heard of Mark Ross Johnson. Sorry.
 
It isn't, but you are certainly entitled to your uninformed opinion. Cheers. ;)

And no one in the industry outside of Vegas has heard of Mark Ross Johnson. Sorry.

Oh? Because you are informed?! Please, give me a break...

If you really are an architect, you're probably just an architect which is jealous and bitter to not be Mark Ross Johnson or any other architects picked by Apple to work on world-wide famous design.

Or maybe I'm wrong and you are a superstar architect. So give us your name, your company, show us your work, tell us how many Fortune 500 company you did work for, which world-wide piece of art you did design, and your researches about glass safety for other architects design.

Nobody knows the exact structure, composition and design of glass stairs. Nobody knows exactly what the specs and resistance tests made as well of any other safety tests done for this design. Only Apple, the Architects and the sub-contractors probably know really that kind of information.

But again if you do, show us your information... If not, you're just entitled to your own opinion, just like me. And then you can say you don't like it, you think it's ugly, you wouldn't do it like that, etc...
 
I dunno, I admire the technology and engineering required to create stairs like this, but I also find it pretty gaudy.

In terms of safety, longevity, and maintenance, glass is really not a good material for things that people walk on or constantly stay in close proximity to.

Agreed, it looks like something a Russian Oligarch would dream up. We just need some plaster sculptures with gold emboss and marble columns.
 
Oh? Because you are informed?! Please, give me a break...

If you really are an architect, you're probably just an architect which is jealous and bitter to not be Mark Ross Johnson or any other architects picked by Apple to work on world-wide famous design.

One look at his website tells me all I need to know. If you're really interested in this stuff, take a look at Bohlin Cywinki Jackson's website and tell me if you see the difference. One firm works on Apple stores, and one works on banal stucco offices for dentists. I'm not knocking the skywalk guy - everybody's got to make a living - but you need to educate yourself if you're going to claim someone's a premier architect.

Nobody knows the exact structure, composition and design of glass stairs. Nobody knows exactly what the specs and resistance tests made as well of any other safety tests done for this design. Only Apple, the Architects and the sub-contractors probably know really that kind of information.

Did you not see the patent posted above? It pretty much lays it all out for you. In any case, Apple is not the only glass stair customer in the world. The information is out there if you care.

But again if you do, show us your information... If not, you're just entitled to your own opinion, just like me. And then you can say you don't like it, you think it's ugly, you wouldn't do it like that, etc...

I already said I didn't like it. What I don't get is how someone can be such a butt-hurt fanboy for something they don't even understand. You think the Apple stairs are pretty, and that's fine. But they are as comparable to the Grand Canyon skywalk as a Ferrari is to a custom motor coach.
 
Gonna be a pain in the ass to keep clean. And many, many old people will die a gruesome death, raining blood on the Macbook Pros. Other than that, pretty sweet.
 
One look at his website tells me all I need to know. If you're really interested in this stuff, take a look at Bohlin Cywinki Jackson's website and tell me if you see the difference. One firm works on Apple stores, and one works on banal stucco offices for dentists. I'm not knocking the skywalk guy - everybody's got to make a living - but you need to educate yourself if you're going to claim someone's a premier architect.

You might think someone's not a premier architect, but regarding Architects for the skywalk, Apple stores or even the recent full curved glass Apple future headquarter campus, they're all worldwide known for their work.

I don't need to educate myself to know it has been on medias, TVs, Documentaries all over the world... even if there's no doubt they're definitely not all in the same league and MRJ probably only did only "one hit" in his life so far. But at least he did...

So what YOU did so far? We still haven't still anything from you and your legitimacy to comment on others work... I'm just asking, maybe you are a premier architect that can talk ***** on others.

Did you not see the patent posted above? It pretty much lays it all out for you. In any case, Apple is not the only glass stair customer in the world. The information is out there if you care.

I'm not architect but I do know things in R&D and building stuff. There's some basics mechanical principles such torsion/flexion, traction-compression and other material resistance simulations that are not done from patent documents

Because if you can do it with the naked eye from a picture and patents documents, you are a hell of an architect.

What I don't get is how someone can be such a butt-hurt fanboy for something they don't even understand.

What I don't get is how someone can believe to be an expert who knows better than actual architects, engineers and technicians who made this stuff, by only watching a picture and patent documents on a rumors forums.

THAT, yeah... I don't understand :)
 
Register on MacRumors! This sidebar will go away, and you'll see fewer ads.