Become a MacRumors Supporter for $50/year with no ads, ability to filter front page stories, and private forums.
Built into the OS is different than an app.
Not when it comes to patents. Somebody has already done what Apple is trying to patent; whether it is at the OS level or not is irrelevant.

Apple routinely incorporates features into iOS that were pioneered long before by third-party applications. They're not leading. As a user community we need to quit fellating them and start holding their feet to the fire. Vote with your wallet, and convince Apple to step up their game again.
 
My N4 does it. Not built-in to the OS, but the launcher I'm using supports it. Not a new idea. Prior art should kill the patent if the examiners are paying any attention.

Get used to it, Apple only leads in sales at this point. Features & technology are pioneered by other people.

Does your Nexus 4 launcher remember the location of your usual power sources in order to determine how likely you are to charge your phone soon based on your location?

The concept of toggling on/off hardware features automatically to save battery life is indeed not new, but this specific implementation based on those specific evidence sources is new AFAIK.

I'm not saying it should be patentable, but saying your Nexus 4 does the same is probably inaccurate. There are also chances that the third-party launcher you use was released after this patent application. Back then ICS had just released.
 
Last edited:
Well, nobody has it now. So it IS something new, thus a 'new idea'.

What cell phone manufacturer currently has an OS that AUTOMATICALLY turns off wi-fi/blue-tooth/GPS to save battery? And then turns it back on when needed?

Nobody has this yet, so it IS worthy of a patent.

Both Nokia's Symbian and Maemo/MeeGo OS have done this for years. You can have location dependent profiles that switch features on/off depending on where you are or how much battery life you have or any number of events.

It's essentially an events driven method of switching Nokia's long standing profiles feature.

See http://betalabs.nokia.com/trials/nokia-situations

and then when Nokia had their brain fart moment in 2011, the developers spun the app off into a separate company and continued with it at http://www.pastillilabs.com
 
Built into the OS is different than an app. But anyways...

No! Not 'But anyways...' Don't try and brush it under the carpet. Do you really think that taking an idea that's already there and putting it in the OS instead of an app is somehow worthy of a patent? Really?

But anyway, there are probably are no prior patents for this, because it should never have been patented in the first place, as so well put by zeeklancer.

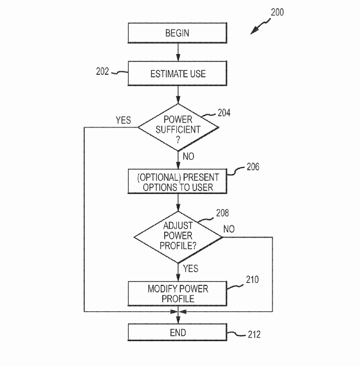
Apple are basically patenting 'IF x THEN y' - 'IF too far from recharge point THEN use less power'.

Can you not see that this is not worthy of a patent? It's simply using available information to make a decision. That's basically how everything in any computer works!

Using that logic I'm going to patent 'IF bright outside THEN turn up backlight', and 'IF on button pressed THEN switch on', and 'IF 07.00 and alarm set for 07.00 THEN sound alarm', and 'IF 07.01 and alarm set for 07.01 THEN sound alarm', and 'IF 07.02 and alarm set for 07.02 THEN sound alarm', and so on....

This is a dick move, exploiting the patent system in a way that it was simply not intended to be used.

As I wrote in a previous post:

Apple is not alone in this. It is an endemic problem. But people need to realise that Apple is a huge company, and it does a lot of things - some great, some good, some bad. This is bad.

We need to be adults and realise that just because we like Apple as a whole and the great stuff it does, we don't have to defend everything it does.

We can hate the bad stuff Apple does and still be an Apple supporter.

In fact, if you truly want Apple to continue to improve as a company, that's exactly what you should do.
 
Last edited:
Apple is not patenting 'flow charts'. The algorithm that the flow charts detail is what Apple is patenting.

And this is the problem, a flow chart IS an algorithm.

---
al·go·rithm
Noun
A process or set of rules to be followed in calculations or other problem-solving operations, esp. by a computer.
---

That is a flow chart you can't get around it any way. Added to the problem there is a billion billion ways to actually implement said flow chart.

The that the people in the patent office clearly are not experts in this field. And the experts 'Apple' are gaming the system.

----------

We can hate the bad stuff Apple does and still be an Apple supporter.

And that is why I have rid my self of both iPad, iPhone, and soon apple TV.

And one day I will rid my self of apple laptops (although, on the laptop front apple has been less of a dick about things)
 
Before you bash the inventor . . .

First, the examiners are NOT paying any attention. The patent examiners are not experts in every facet of the fields in which they approve patents. Their research involves simply looking for prior art in EXISTING patents. If nobody else has sent a patent request for this, this patent WILL BE APPROVED.

Your comments in this thread are the only ones that make any sense.

With all due respect to the rest of the posters . . .

Unfortunately, patent law and patenting is a complex process. As someone who has 12 patents pending and another 8 on the way, I can say that the entire system is quite dysfunctional. But I'd suggest this is more of a result of bad actors in the system (lawyers, corporations, patent trolls), not what is approved or disapproved by the USPTO.

That does NOT mean that this patent is not worthy of being patented. And until the system changes, why would this inventor, or their assignee (Apple), not try to protect their intellectual capital in the way the law allows?

It may help to know that many great original ideas are whittled down and morphed into what the law does allow, and are translated into patent speak, which diminish the overall breadth and depth of the concept, but are required to show novelty when patenting an invention.

Not everything is patentable. Designs are patentable, processes are patentable. Formulas and automation are not. Processes are important intellectual property. I use them every day, and a good process makes all the difference.

As with anything, I'd suggest spending some time learning about something before you criticize it harshly.
 
This will likely not get approved. Windows has used a similar activity diagram to suggest power usage for years. It is far too simple to understand what apple is actually thinking but it appears to be nothing new.
 
Great idea....

BUT even before apps managed your battery for you, people would self manage it. If you needed to save battery you might turn off data, or place the phone in aeroplane mode, perhaps even turn the brightness down.

Isn't that flow chart doing exactly what someone would do in there head? 😕

Yes we may not be as good at predicting the exact battery life of the phone, but we could always compensate for that.

It seems as if someone has just written down what we all think when we estimate whether our battery can make it to the next charge?

Anthony
 
My N4 does it. Not built-in to the OS, but the launcher I'm using supports it. Not a new idea. Prior art should kill the patent if the examiners are paying any attention.

Get used to it, Apple only leads in sales at this point. Features & technology are pioneered by other people.

By who? Google with their chrome airplay thingy and play music or samsung with their thinner galaxy tab bezels?
 
Well, nobody has it now. So it IS something new, thus a 'new idea'.

What cell phone manufacturer currently has an OS that AUTOMATICALLY turns off wi-fi/blue-tooth/GPS to save battery? And then turns it back on when needed?

Nobody has this yet, so it IS worthy of a patent.

The idea isn't. This is a flow chart, not even good documentation of the process. Not worthy of a patent.

For Qualcomm has an app called BatteryGuru that runs on SnapDragon devices.

1. Inactivity will turn off mobile data when the phone isn't being used.
2. Stop apps from refreshing in the background.
3. WiFi on/off based on usage.


You can also use an application called Tasker that will do a similar function, you set up triggers for battery etc.

My Razr HD will automatically turn off GPS, WiFi, etc when the battery is below a certain threshold.
It's easy to have them switch back on if needed, same with cellular data.

This isn't new.

Most of this stuff defeats the whole idea of always on mobile connectivity.
Better semi process, slow watchdog CPU (new x8 Motorola and Tegra3), bigger battery.

----------

Not everything is patentable. Designs are patentable, processes are patentable. Formulas and automation are not. Processes are important intellectual property. I use them every day, and a good process makes all the difference.

As with anything, I'd suggest spending some time learning about something before you criticize it harshly.

Actually formula's are patentable.
A specific chemical synthesized in a lab is patentable along with the process to create it if it is new. As long as the chemical does not actually occur in nature. If it does the process to isolate it may be,

Algorithms are patentable, which may be construed as a formula.
Viterbi is a prime example of formula/algorithm that made Qualcomm what it is today.
 
Patent-Flow-Diagram.png


Wish my electric shaver had such power management.
 
Cool

Although, the idea of Power Management does exist and I am sure that some have implemented it, doesn't matter whether the patent being made is noticeably different from other patents that exist? Than you have a unique idea that no other company has.

I saw this in the keynote when they were talking abut the features included in the Maverick OS and I thought to myself this would be awesome on the phone too! 😀 I think this is where Apple is going with this and if it saves me battery life I am down! I basically implement the same procedure but manually, if Apple turns it around and implements it automatically than I am all for it. Anything to let me get another post on macrumors or check out the latest rumor beofre my battery dies!

:apple:
 
Windows Phone has a similar feature - and it's patented as well. Never going to understand why people whine about these things. If someone else wants to do something similar, you find another way to do it...that's how it works, and it does work.

What it comes down to is people want to hate USPTO these days, having never really understood its purpose. A lot of them aren't even Americans which is pretty ridiculous.
 
Windows Phone has a similar feature - and it's patented as well. Never going to understand why people whine about these things. If someone else wants to do something similar, you find another way to do it...that's how it works, and it does work.

What it comes down to is people want to hate USPTO these days, having never really understood its purpose. A lot of them aren't even Americans which is pretty ridiculous.

This is why people reverse engineer products/software and are able to do so. Makes competition better and better products (hopefully).
 
Windows Phone has a similar feature - and it's patented as well. Never going to understand why people whine about these things. If someone else wants to do something similar, you find another way to do it...that's how it works, and it does work.

What it comes down to is people want to hate USPTO these days, having never really understood its purpose. A lot of them aren't even Americans which is pretty ridiculous.

New Study: USPTO Drastically Lowered Its Standards In Approving Patents To Reduce Backlog

And now the data is in, suggesting we were absolutely right all along. A new study done by Chris Cotropia and Cecil Quillen of the University of Richmond and independent researcher Ogden Webster used information obtained via FOIA requests to delve into what was really going on in the patent office (link to a great summary of the research by Tim Lee).

...they found that the actual patent approval rate in 2012 was almost 90% of all patents eventually get approved. 90%! That's about where it was in 2004 and 2005 (as discussed above), though in 2001 it actually came close to 100%! However, as noted above, by the second half of 00's corrections had been put in place and the approval rate had declined to under 70% in 2009 -- meaning that the USPTO was actually rejecting bad patents. But over the past three years, we've shot right back up. And it's clear that if the approval rate is much higher, the USPTO is approving many, many more bad patents.

http://www.techdirt.com/blog/innova...rds-approving-patents-to-reduce-backlog.shtml
 
I'm just waiting for the usual "ha ha android you have to turn everything off wifi, GPS, bluetooth etc to preserve battery and now apple files for similar battery saving patent and now this is a great idea" crowd.
 
Register on MacRumors! This sidebar will go away, and you'll see fewer ads.