
DigiTimes reports that Apple and Samsung are both "evaluating" the use of solar cells in future consumer products, with the process having advanced as far as discussions with several Taiwanese solar firms about the technology. Any such products are said to be some time off, however, with projects still in the research stage as vendors work toward increasing efficiency of energy conversion.
Apple has expressed interest in solar power for a number of years, with a patent application published in 2008 discussing the possibility of placing solar cells underneath a mobile device's screen. A more recent one discussed building solar cells into the external surface of an iPod-like device and integrating a power management system to balance battery and solar power generation to compensate for changes in light input due to environmental factors or certain panels being obscured by the user's hand.Samsung and Apple have been evaluating the possible niche market for solar-powered consumer products and considering the inclusion of Taiwan-based solar firms in their respective supply chains. However, according to Taiwan-based solar firms, these niche markets will need a longer time to develop.
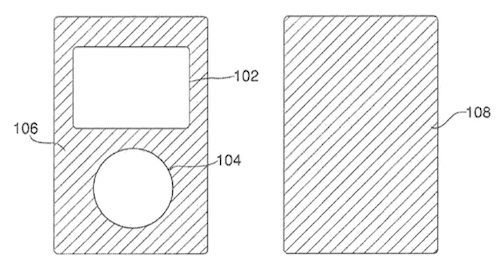
2008 Apple patent application drawing showing iPod with integrated solar cells
Article Link: Apple 'Evaluating' Solar Cell Vendors for Future Products?