
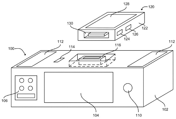
Apple has filed for a United States patent detailing a smart dock that would allow users to access voice recognition functions such as Siri once a compatible device is connected, reports AppleInsider. The patent describes the dock as composing of multiple parts including a housing with a touch screen, integrated microphone, speakers and tactile buttons, along with a connector, wireless radio, and internal processor.
The patent also details other embodiments of the invention where the signals between the dock and device can be transmitted wirelessly, potentially allowing for things such as AirPlay functionality. Also described are potential add-ons to the dock, including removable storage media such as an external hard drive, a GPS receiver, and environmental sensors such as an accelerometer or temperature sensor.In yet another embodiment, when the voice recognition mode of the portable electronic device is activated, the processor of the portable electronic device is further configured to receive voice input from the dock via the receptacle connector, the voice input including a use request. The processor retrieves the requested information and generates audio output including a response to the user request. The audio output is transmitted by the processor to the dock via the receptacle connector.
It is not known if Apple will actually create a smart dock for its products, but the existence of a device as detailed in the patent would be of a new effort for the company. Currently, Apple sells docks for the iPhone 5c and iPhone 5s, but both of them act merely as charging cradles for the devices. Other accessories such as the iHome family of clock-radios and speaker systems offer a bit more functionality, but very little in the context of deep interaction with a device.
Article Link: Apple Files Patent for 'Smart Dock' with Voice Recognition for Devices