
Patently Apple reports on a newly-published patent application from Apple describing the integration of a speaker into the clip of the iPod nano or shuffle. Apple's proposed design includes a recessed portion within the device's clip that would house a piezoelectric speaker.
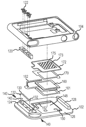
Exploded view of iPod nano or shuffle case with speaker integrated into clip
Adding a speaker to the iPod's clip would of course mean that it would need to be electrically connected to the main portion of the device, and Apple also describes how thin, flexible wires or microstrips could be routed alongside or through the hinge block that serves as the mounting point for the clip.In some embodiments, the cavity size may be shaped to create a particular frequency response or to otherwise influence the sound produced by the acoustical element. In some embodiments, the interior surface of the cavity may be modified to increase the size of the cavity, to control the frequency response of the cavity, modify the amount of air displaceable by movement of the diaphragm of the acoustical element, and/or to direct sound waves within the cavity and/or out of the cavity. The shape of the surface may be configured to resonate at a certain desired frequency or frequency range that is desired based on its shape. For example, one or more indentations in the surface may be provided to increase the size of the cavity and/or control the frequency response of the cavity. Generally, the larger the size of the cavity, the lower the frequency that may be resonant within the cavity. In some embodiments, holes may be provided in the surface to adjust the frequency response.
Apple does not propose any specific uses for the external audio features enabled by the addition of a speaker clip, and the extremely thin nature of the speaker housing would limit the sound quality achievable through the system. At a minimum, the speaker could provide clicks and beeps as feedback for user input on the device, although more complex audio could also be generated.
Curiously, the exploded view diagram included in the patent application also shows a fairly large hole in the iPod clip, as seen at the bottom left of the diagram. While Apple does not specify the intended function of that hole, it does line up nicely with previously-leaked front and back photos potentially showing a rear-facing camera hole for the iPod nano's main body. That design has, however, yet to see a public debut.
The patent application, simply entitled "Speaker Clip", was filed in May of 2010 with the lead designer listed as Ben Filson, a longtime Apple design engineer who left the company last year to join Tony Fadell's Nest Labs project. The patent application also lists as inventors Eugene Whang and Matt Rohrbach, two key members of Apple's industrial design team.
Article Link: Apple Researching Integrated Speaker for iPod Nano and Shuffle