
With Apple announcing its new Passbook digital wallet app for iOS 6 last month, speculation regarding the inclusion of near field communications (NFC) and mobile payment capabilities for future iOS devices has begun to increase. The speculation comes amid rumors of iPhone prototypes with NFC, although Apple has been said to be intentionally moving slowly on the mobile payment front.
Now that Passbook has been revealed, today's granting of a new Apple patent for NFC-enabled transportation ticketing takes on additional significance. As noted by Unwired View, the disclosed "iTravel" application would handle a broad array of functions to assist with travel logistics.
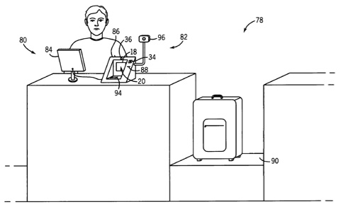
The main focus of the patent is how you would use your next iPhone with NFC chip at the airport check-in. It includes loading your ID info such as picture, retinal scan and fingerprint data from modern passports with embedded radio frequency identification tags. Collecting your ticket information from reservation confirmation e-mails/notifications, or extracting reservation images via optical character recognition software, barcode-reading software, or QR-code-reading software. Providing the necessary information at the NFC equipped check-in counter, and receiving the boarding pass with luggage info in exchange. Using the stored ID to pass through airport security, etc.
Apple's iTravel patent application has been known for some time, having been filed in September 2008 and published for public viewing in April 2010. But with the patent now having been granted by the U.S. Patent and Trademark Office, Apple has broader protections should it choose to launch such an application.
It is unusual for Apple to so thoroughly document an actual iOS application concept that has yet to see the light of day in a patent application, and it is unclear exactly why Apple has chosen to do so. But with NFC technology being a bit slower to establish itself than originally hoped, perhaps Apple thought it would be able to move faster on its idea. Alternatively, Apple may have already discarded this specific implementation, but with Passbook making an appearance later this year and NFC perhaps also being included, Apple's iTravel concept may still find its way into iOS devices in some form.
Article Link: Apple Wins Patent for NFC-Enabled 'iTravel' Transportation Ticketing App