
The United States Patent and Trademark Office today granted Apple a patent that describes a Touch ID sensor which could effectively detect and read a user's fingerprints through other components of the smartphone, "such as display stacks and touch screens" (via AppleInsider). While going unspecified, the technology aligns with the current rumors for the iPhone 8, which is expected to eliminate the Home Button for good and integrate various pieces of the smartphone directly into the display, including Touch ID.
Described in the new patent, there are many reasons Apple is looking to integrate Touch ID into the iPhone's screen, "not the least of which is an interest in avoiding assigning valuable surface space exclusively to an component that may only be used briefly during the process of identifying the user." But the company still had to face multiple issues when building the new technology, namely a "blurring of the electric field" that brought about a loss of resolution of the fingerprint images as they were being transferred through the space between the Touch ID sensor and the iPhone's screen.
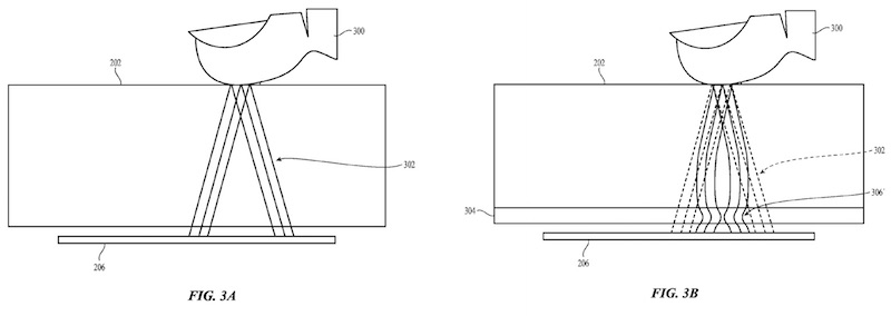
To combat the gap between where the user places their finger, and the technology reading the fingerprint data under the display, Apple's patent proposes the use of electrostatic lenses, which are described as including "one or more patterned conductive layer(s)." In an example laid out by the patent, the position, relative voltage, and shapes of the patterned conductive layer or layers can be altered to shape the electric field specifically associated with the user's fingerprint, and the information can be held "in the region between the contact surface of the capacitive fingerprint sensor and the array of capacitive sensing elements."
Apple's patent aims to reduce the spread of a fingerprint's electric field using electrostatic lenses
The collected data would help improve the resolution of the user's fingerprint, despite the distance between the Touch ID sensing module and the place on the iPhone display where they place their finger. In the patent, Apple notes that the specific setting and location for these electrostatic lenses depend on the "geometry of the consumer electronics device and the effects of any intervening components," but touchscreens and display stacks are mentioned by name multiple times.
As is usual with patents, it is unclear whether the electrostatic lens technology will show up in any future Apple device at all, much less one set to debut in less than a year, but its descriptive ability to fuel one of the iPhone 8's biggest rumors is interesting all the same. Apple appears to have been working on the patent for a few years now, since it was originally filed on September 9, 2014, with inventor credit going to Jean-Marie Bussat.
Article Link: New Apple Patent Describes Fingerprint Sensor That Could Work Through Display