Become a MacRumors Supporter for $50/year with no ads, ability to filter front page stories, and private forums.
I agree. I used to own a FingerWorks TouchStream keyboard and after a day of serious use, my fingertips were tingling; try just tapping your fingers for eight hours on a tabletop and you will understand.

The whole point of its ergonomic benefit was that you are not putting any pressure on your fingertips. You were supposed to just lightly "touch" the keys. Your fingertips were tingling probably because you were tapping too hard, undoing the ergonomic benefit. This benefit made a HUGE difference to my coworker. He had to wear wrist braces for his carpal tunnel before TouchStream.
 
This is a terrible idea, people need to be productive on their computer, which means that they need tactile response or else you would have to be constantly looking at the keyboard, which is fine for the iphone, since it's located on the screen, but slightly less than ok for a laptop.

Yes, this is a challenge. And it's something Apple/Fingerworks have been working on for a while now:

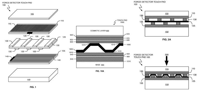
http://www.appleinsider.com/articles/07/10/26/apple_patent_hints_at_tactile_multi_touch_keyboard.html

patent-071026-1.gif


Also http://www.appleinsider.com/articles/07/10/11/apple_files_for_second_force_sensitive_display_patent.html

patent-091011-1.jpg


And http://www.appleinsider.com/articles/07/10/05/apple_exploring_pressure_sensitive_touchscreens_touchpads.html

patent-091004-1.jpg
 
Put the iPhone screen tech in place of keyboards and we have a winner.

There's just ONE major problem with that... no way to find the keys without using your eyes. For professional typists a touch screen keyboard is detrimental to work flow.

For everyone else: boffo idea.
 
Multi-Touch is the Future!

As a satisfied Pc/Xp user i have always thought of Macs in high regard. A step up from everything, the porsche if you may, of computers. Yesterday at a local Best Buy i was sampling the features of the new MBP when i remembered that they had multi-touch. I quickly opened safari and went to my favorite website. I put two fingers down on the sleek trackpad and instantly had full access to page scrolling. I put three down, then four. I was amazed. I could do so much without my fingers ever leaving the sexy glass. All i could think of was the future of these machines. If Apple improves on their multi-touch like it has for all the rest of their products, then they could potentially reinvent the user interface of the computer. To say the least, i love multi-touch and can't wait till I'm through with schooling to buy me an Apple machine.
:apple:
 
Think about it though. When you touch-type, you are not feeling for the keys braille-style, you go straight for them. The only feedback you get is the fact that you've pressed a key. Isn't that what haptic feedback does?

[Actually, thinking about it, you still need tactile feedback for the initial finger position. I wonder if there are any patents in the works for that...]
I think there is, and MR might have done a story on it, I forget though. It was all about a sort of suspension system similar to what the Blackberry Storm uses, so you still have a fully touch-sensitive display/pad, but it erects small little dimples or even "borders" for the keys when it is in keyboard mode, so you do have the sensation of keys, somewhat, to help you find your way...

That would be kind of cool, but I imagine the mechanics would be a nightmare. A poor man's version would be a multi-touch surface overlay with a BT chip the identifies the keyboard lay out. Just lay it over the larger MT area, pair it and calibrate it by hitting certain keys.

Right after the click pad Macs came out, I wondered how long it would be before we saw an iPod/iPhone with a click surface. Blackberry beat them to it.

I tried out a friends Storm and liked the click feedback, but for typing, I DO need to be able to feel the keys. I'm not a trained touch typist, but I can to pretty good multi-finger, no-look typing. While my fingers have a pretty good idea of where to go, I rely heavily in feeling my way around the keyboard to fine tune the target. This is particularly useful when switching keyboards, say between home a work, where the spacing is slightly different.

A few years ago I got to try one of those laser project keyboards that where designed for PDAs. Form that experience, I think a plain MT surface keyboard with not physical relief would be difficult to use, even if it is a click surface.
 
Note: My following written thoughts are completely fact-less and unrealistic.

The FingerWorks technology is obviously found in the iPhone. Which makes the iPhone an excellent testing ground for reliability issues and improvements to the touch-screen computer usability approach.

Battery life will soon be a concern of the past, imagine the iPhone's coated glass screen and body surface acting as a light absorbing mechanism to generate electricity for the device. Technologies such as industrial paint that can act as a solar panel surface is under development in Europe,.

I might have read that Apple has acquired an innovative chip processing company a few years ago. So I would not be surprised if Apple becomes independent of Intel & nvidia. Again, I would like to emphasize that I am entertaining my thoughts and I am making fact-less and unrealistic assumptions.

Apple has been advertising external displays as an extension to its portable computer line. Which highlights the possibility of a plug-in your iPhone to your home office's display. Or, plug-in your future hand held macbook Or better yet, as we've seen in some hand & computer illustrations online, slide your iphone or hand held macbook into the external display.

That's it for me on this topic.
 
If it's multitouch, why only one key at a time?

I remember seeing an interview where one of the multitouch researchers said he thought of multitouch like playing a piano. Instead of tapping one spot on the screen (like hitting a single note), you press on several to make a chord. This gives you more versatility -- so you can use two fingers to scroll, three to go back/forward, etc.

All this talk of multitouch keyboards seems a bit off to me, because it still uses the concept of hitting one or two keys at a time to produce a single character. I wonder if it would be possible to incorporate gestures in some way for common words or patterns of characters, and whether this would give any performance gains that would outweigh the costs in intuitiveness.

I guess you could still have the normal "keyboard" on the screen, but if you did certain gestures across the keyboard it would type the specific words. For most normal uses (e.g. not programming), I would imagine the computer could predict the word you're trying to use and you could get some performance gains.
 
I agree. I used to own a FingerWorks TouchStream keyboard and after a day of serious use, my fingertips were tingling; try just tapping your fingers for eight hours on a tabletop and you will understand.

Exactly.

If people want a keyboard that changes its key arrangement based on context, then a keyboard with OLED keys on top that can be remapped to different symbols is better, IMO.

In fact, they have this now, but it's too expensive unless you're a multi-millionaire.




And why do people keep comparing it to the iPhone's keyboard? Typing with your thumbs on a mobile phone is not the same thing as the regular typing motion, so you can't claim that the only thing Apple needs to do is move the iPhone's keyboard, or some variant of it, to a laptop. Despite both of them being keyboards, they're not comparable.

Besides, the iPhone's keyboard isn't even CLOSE to being as good as my Nokia 5800's keyboard in landscape mode. Apple needs to get it right on the iPhone first, and they haven't.
 
We can have chords on regular keyboards as well. If you spent enough time at it, you could learn an alternative and very fast way of typing that would contain words, etc.

Or how about using a court recorder keyboard for real speed?

But let's face it. Most people type with two fingers, don't play piano and would make lousy stenographers no matter how many gestures were available.

For the masses, you want simple, easy-to-learn solutions.
 
I agree. I used to own a FingerWorks TouchStream keyboard and after a day of serious use, my fingertips were tingling; try just tapping your fingers for eight hours on a tabletop and you will understand.

So not for serious use. Then again, Apple has forsaken Pro's with the MacBook Pro when they made its screen shiny, so I wouldn't put it past them to use the OLPC 2 setup...

It takes getting used to, that's all. I used one for a long time and got used to it and even found that I typed very quickly and comfortably on it. You just can't use it the way you would a normal keyboard -- but that's just habit. Once you get used to it, it's pretty amazing: your hands and fingers hover across softly tapping the 'keys', and of course having access in the same area to all the mouse gestures was great. I think it would be a nice option to have for an external keyboard and also for the laptops, but I don't think most people would want it because of the learning curve.
 
We have to remember why the QWERTY keyboard is designed the way it is...
Typewriters were mechanical devices and there are to be room for levers under the keys and the leers had to all be parallel. This is why the rows are straight and the keys in each row are offset such that no key is directly above another. And, very early typewriters would jam so the keys were re-arrange to slow down typing to the point where the machine could keep up.

Moderd keyboard have switches under each key and do not have to be designed this way. But if anyhting changed wed have to re-learn to type. No one wants to re-learn to no one has been able to sell better, redesigned modern keyboards.
 
We have to remember why the QWERTY keyboard is designed the way it is...
Typewriters were mechanical devices and there are to be room for levers under the keys and the leers had to all be parallel. This is why the rows are straight and the keys in each row are offset such that no key is directly above another. And, very early typewriters would jam so the keys were re-arrange to slow down typing to the point where the machine could keep up.

Moderd keyboard have switches under each key and do not have to be designed this way. But if anyhting changed wed have to re-learn to type. No one wants to re-learn to no one has been able to sell better, redesigned modern keyboards.

Some people are die-hard Dvorak converts. Most keys are easy to pop-off and rearrange. I've been meaning to give it at least a try, but have been, you know...lazy.
 
Yes, this is a challenge. And it's something Apple/Fingerworks have been working on for a while now:

that is very cool
and also.... it would provide the solution to everyone's comments in this thread, wouldn't it? BOTH those who want a touch keyboard and those who say they wouldn't be able to use one

personally i really like the iphone's keyboard - i may not get the letters right all the time, but then i don't on a normal keyboard either, that's what the backspace key is for. and the auto-correction on the iphone i find fixes most of my errors anyway
i'm using one of the new flat aluminium keyboards to type this - i'm not looking at the keyboard at all and, although it's hard to judge because typing is almost more natural than writing after all these years, but i don't think i'm even feeling for the edges of the keys - so really, there's no need to for they keys to be physical at all. i think there just needs to be a gap between keys to absorb erroneous strikes. that's perhaps the problem with the iphone, there isn't enough margin for error on a screen that size.
 
We have to remember why the QWERTY keyboard is designed the way it is...
Typewriters were mechanical devices and there are to be room for levers under the keys and the leers had to all be parallel. This is why the rows are straight and the keys in each row are offset such that no key is directly above another. And, very early typewriters would jam so the keys were re-arrange to slow down typing to the point where the machine could keep up.

NO NO NO NO NO. Please Google for "qwerty arrangement myth"

This false story keeps cropping up. The original QWERTY arrangement was to prevent the mechanics from clashing (and to let salesmen tap out the word "typewriter" on one line), but was NOT REPEAT NOT meant to SLOW anyone down.
 
I don't really understand the comments here. Multitoucj-keyboard slows down data-entry? Um, the article mentioned a study which says that it speeds up data-entry by 50%. The additional screen would consume more power? It doesn't have to be a traditional LCD, it could be an e-ink screen or something. Professional typers need physical keys? I don't think so. Hey can type blindfolded, and I bet that after a short while, they would be proficient with multitouch.

I bet that adaptive multitouch-keyboard combined with predictive text-input will leave us wondering how we ever managed with mechanical keyboards...
 
NO NO NO NO NO. Please Google for "qwerty arrangement myth"

This false story keeps cropping up. The original QWERTY arrangement was to prevent the mechanics from clashing (and to let salesmen tap out the word "typewriter" on one line), but was NOT REPEAT NOT meant to SLOW anyone down.

Exactly.

The numbers on telephones, on the other hand, WERE arranged backwards of a normal keypad to slow people down. But that is a totally different story that keyboards. After all, slamming out a 10-digit phone number lightning-fast is not exactly of a whole lot of use to most people...
 
NO NO NO NO NO. Please Google for "qwerty arrangement myth"

This false story keeps cropping up. The original QWERTY arrangement was to prevent the mechanics from clashing (and to let salesmen tap out the word "typewriter" on one line), but was NOT REPEAT NOT meant to SLOW anyone down.

i only just realized you could write Typewriter on one line :p
 
Yes, but to a point. I still believe Apple should sell an external trackpad that connects via USB, to replace the mouse. Think of an external multitouch trackpad that connects to a Mac desktop (or older MacBook) which is a little smaller than a mousepad. Besides, I find myself using a mouse less and less.

Totally agree. The mighty mouse is nice in concept, but it's not really precise, pretty fragile and once you dirtied up that clito... scrollball, it's doesn't really scroll well. I also noticed I don't instinctively lift my left finger when right clicking (musical instrument background... you learn to minimize your hand movements to play faster and longer...). The missing trackpad is actually one of the reasons I'm not buying Mac Desktops anymore.

I have a pretty decent mouse (Logitech G5 used via SteerMouse) but for regular desktop tasks, even Photoshop, I much prefer using my old Macbook's trackpad. It's closer to the keyboard (here we go again... minimizing movement), scrolling in two dimensions is exceptionally comfortable (and silent!) and it's pretty precise. With a mouse, clicking a button might move the pointer a bit if the mouse pointer speed is all the way up, causing a dragging action rather than a clicking action.

Also, OSX's mouse acceleration is really, really bad. It's like Apple wanted you to hate the mouse to get you excited about all-multi-touch computers. But I believe it's always been like that in OSX. I'd love to be able to switch the acceleration completely off and be able to crank the mouse speed up 3x more than currently possible. SteerMouse was a good investment though.

A USB Trackpad would indeed be awesome. Slightly angled upward (like the aluminum keyboard) and clickable glass like on the laptops. How about having a touch screen in there? Think iPhone screen, but with the roughed up glass (so your finger doesn't stick when dragging) and clickable, just like on the unibody Macbooks.

You could display the hot corners on it, a number pad or other simple gizmos that become active if you're resting your thumb on a certain area. Make a bluetooth version that can work as an Apple Remote 2.0! Display a touch keyboard on it. Eventually, people will stop using the keyboard to enter small things like google searches and will embrace full multi-touch Macs.
 
The numbers on telephones, on the other hand, WERE arranged backwards of a normal keypad to slow people down.

Sorry... that's another myth :)

The phone company was infamous for doing lots of research. They did tests to determine the best touch layout... unlike the calculator companies who just mimicked the 9-0 vertical number layout of most machines at the time.

Bell Labs figured out the touch layout that people found easiest, and which most resembled the dials of the time, with zero at the bottom.

Another critical factor was that we were all used to alphanumeric phone numbers at the time. For instance, my home number was TEmple-4-5792. My neighbors were VAnce-2-0576. If they had reversed the numbers vertically, the letters associated with each number would no longer have been in top-to-bottom alphanumeric order.

Cheers - the really old guy
 
I know this thread is all about virtual keyboards and multitouch, but one thing that springs to mind is that until we unlock our thoughts and ways concerning keyboard layout (ie, QWERTY) then we'll be restricting ourselves somewhat. Every-time you see a slightly different ergonomic keyboard everybody says "no way, i couldn't use that!"...and thats with the keyboard still being a QWERTY layout (abate with something going on in the middle to split it up in the middle).

The modern keyboard layout has been around since 1874. We'll have to get away from that before we can have a real evolution in inputting.
 
Register on MacRumors! This sidebar will go away, and you'll see fewer ads.