Become a MacRumors Supporter for $50/year with no ads, ability to filter front page stories, and private forums.
The ridiculous thing about this case is that it’s over the Intel modems used by the iPhones in question. Qualcom alleges that the Intel modems infringe on their patents, so the iPhones using those Intel modems should be banned. Apple should just make their own modems, forget Qualcom.
 
The ridiculous thing about this case is that it’s over the Intel modems used by the iPhones in question. Qualcom alleges that the Intel modems infringe on their patents, so the iPhones using those Intel modems should be banned. Apple should just make their own modems, forget Qualcom.

What makes even less sense is, if the Intel modems are violating the patent, shouldn't Qualcomm be suing Intel? Apple is just Intel's customer here; they're not responsible for Intel's patent infringement.
 
  • Like
Reactions: NickName99
Wanna bet Apple's response to this will be to discontinue those SKUs? They already discontinued the X.

I think it's unlikely an import ban will ever go into effect. Even if the Commission agrees with the ALJ's recommendation, the import ban might be vetoed by the President / U.S. Trade Representative. And if it isn't vetoed, Apple can appeal to the Federal Circuit.

If this does only affect iPhone 7s and iPhone 7 Pluses, by the time an import ban went into effect - if one ever does, it probably wouldn't matter much.
 
I think it's unlikely an import ban will ever go into effect. Even if the Commission agrees with the ALJ's recommendation, the import ban might be vetoed by the President / U.S. Trade Representative. And if it isn't vetoed, Apple can appeal to the Federal Circuit.

If this does only affect iPhone 7s and iPhone 7 Pluses, by the time an import ban went into effect - if one ever does, it probably wouldn't matter much.

Properly why Tim Apple plays nice with the president.
 
  • Like
Reactions: 5105973
What makes even less sense is, if the Intel modems are violating the patent, shouldn't Qualcomm be suing Intel? Apple is just Intel's customer here; they're not responsible for Intel's patent infringement.

The patent is about power management. When Apple's logic board is designed to work in conjunction with an Intel modem, it violates the patent due to the implementation.

Contrary to what some may believe, Qualcomm holds patents in more than just cellular connectivity. They have a portfolio which includes power management, methods of manufacturing, and software.
 
  • Like
Reactions: ROGmaster and ksec
What makes even less sense is, if the Intel modems are violating the patent, shouldn't Qualcomm be suing Intel? Apple is just Intel's customer here; they're not responsible for Intel's patent infringement.

A few things...

(1) We aren't necessarily talking about iPhones with Intel modems here. As I understand it, the patent in question doesn't relate to just modems.

(2) When it comes to these kinds of USITC actions, it wouldn't make much sense to bring them against Intel. Qualcomm won't get monetary damage awards out of these kinds of actions. It's looking for import bans against iPhones. And, for various reasons I won't get into here (unless asked), Qualcomm generally doesn't want to sue Intel over infringement (by Intel modems).

(3) When it comes to infringement, Apple would be responsible even if it was just Intel's modems (built into iPhones) which infringed given patents. If I buy something that infringes a patent and put it into, e.g., a smartphone, and I don't have a license to use that patent, and I then use or sell that smartphone, then... I've infringed that patent. There can be multiple parties, at multiple steps along the way, who infringe a given patent. For that matter, the consumer who buys the infringing product is also infringing the patent when they use it. If Apple is infringing Qualcomm patents with given iPhones, then the people who own and use those iPhones are also infringing Qualcomm's patents (unless they have their own license).
 
A few things...

(1) We aren't necessarily talking about iPhones with Intel modems here. As I understand it, the patent in question doesn't relate to just modems.

(2) When it comes to these kinds of USITC actions, it wouldn't make much sense to bring them against Intel. Qualcomm won't get monetary damage awards out of these kinds of actions. It's looking for import bans against iPhones. And, for various reasons I won't get into here (unless asked), Qualcomm generally doesn't want to sue Intel over infringement (by Intel modems).

(3) When it comes to infringement, Apple would be responsible even if it was just Intel's modems (built into iPhones) which infringed given patents. If I buy something that infringes a patent and put it into, e.g., a smartphone, and I don't have a license to use that patent, and I then use or sell that smartphone, then... I've infringed that patent. There can be multiple parties, at multiple steps along the way, who infringe a given patent. For that matter, the consumer who buys the infringing product is also infringing the patent when they use it. If Apple is infringing Qualcomm patents with given iPhones, then the people who own and use those iPhones are also infringing Qualcomm's patents (unless they have their own license).

Qualcomm has explicitly said Intel modems don't infringe, and has claimed that the resulting implementation in Apple's phones violates their patents.
 
What makes even less sense is, if the Intel modems are violating the patent, shouldn't Qualcomm be suing Intel? Apple is just Intel's customer here; they're not responsible for Intel's patent infringement.

Intel aren't infringing. It's Apple's job to pay the licencing fee once they put the Qualcomm patented technology into a product to be sold. Apple refused to pay, so they got taken to court.
 
Qualcomm is only asking to go extinct.

Anybody can assemble a phone. As a matter of fact the mobile market is oversaturated with phone makers and the world will move on if one or even a few of them including Apple cease to exist. On the other hand, Qualcomm is essential technology and without it the world will go backwards and suffer with subpar Intel baseband radios.
 
What makes even less sense is, if the Intel modems are violating the patent, shouldn't Qualcomm be suing Intel? Apple is just Intel's customer here; they're not responsible for Intel's patent infringement.
Anyone who makes, uses, sells, offers for sale, or imports an infringing item is an infringer. Even end users.
 
  • Like
Reactions: 69Mustang
I would also love for these stories to include at least one sample claim from the asserted patents. In this instance, they should include the infringed claim. I think that would preempt a lot of the silly presumptions about what these patents cover.
What is claimed is:

1. A multiple Supply Voltage device comprising:

a core network operative at a first Supply Voltage; and

a control network coupled to said core network wherein said control network is configured to transmit a control signal, said control network comprising: an up/down (up/down) detector configured to detect a power state of said core network; processing circuitry coupled to said up/down detector and configured to generate said con trol signal based on said power state;

one or more feedback circuits coupled to said up/down detector, said one or more feedback circuits configured to provide feedback signals to adjust a current capacity of said up/down detector;

at least one first transistor coupled to a second Supply Voltage, the at least one more first transistor being con figured to Switch on when said first Supply Voltage is powered down and to switch off when said first supply Voltage is powered on;

at least one second transistor coupled in series with the at least one first transistor and coupled to said first Supply Voltage, the at least one second transistor being configured to Switch on when said first Supply Voltage is powered on and to switch off when said first supply voltage is powered down;

at least one third transistor coupled in series between the at least one first transistor and the at least one second transistor.

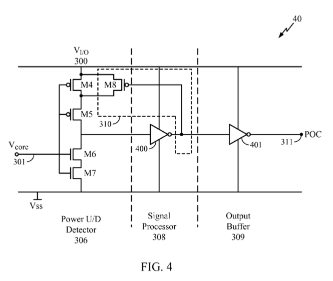
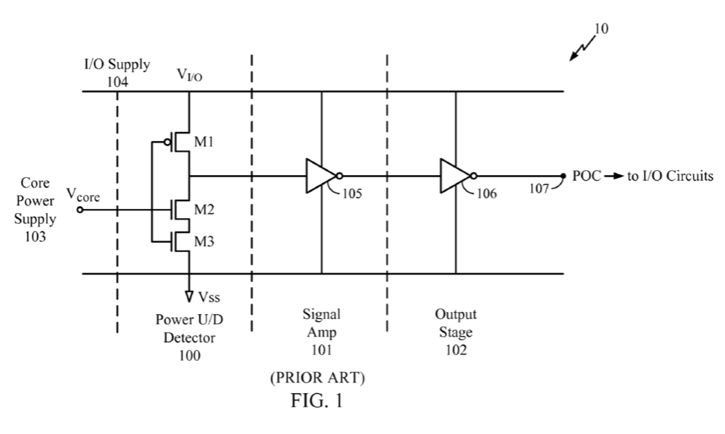
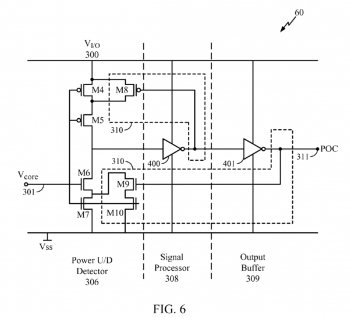
It's covering a way to reduce leakage power during the brief period when a core power supply turns off while the I/O remains powered. Presumably this makes it more efficient to turn power on and off more granularly.

Visually, they added M8 and its gate signal:
Screen Shot 2019-03-26 at 12.26.19 PM.png
to what had been the prior art:
Screen Shot 2019-03-26 at 12.25.38 PM.png
M5 looks like an implementation detail and mirrors the role of M6 in presumably reducing leakage in the off state. The "signal processor" is described as an inverting amp, so nothing more than the inverting signal amp shown in the prior art.

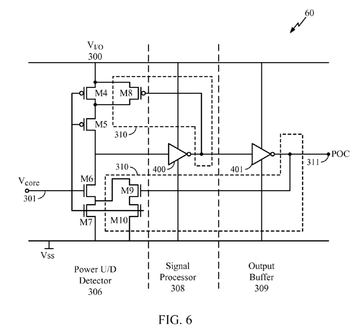
Alternatively the feedback path can support the power on detection:

Screen Shot 2019-03-26 at 1.42.05 PM.png

Or both. But Apple will have violated the claim if they add the single M8 transistor.

So, to everyone screaming "Innovation!", this is what innovation looks like: one transistor added in parallel with another. Humanity advances in baby steps, people...
 
Anybody can assemble a phone. As a matter of fact the mobile market is oversaturated with phone makers and the world will move on if one or even a few of them including Apple cease to exist. On the other hand, Qualcomm is essential technology and without it the world will go backwards and suffer with subpar Intel baseband radios.

And all the other phone manufacturers manage to pay the fees. Poor Apple with its razor thin margins are suffering. Perhaps the government should step in and cover the cost on Apple's behalf? Apple has many employees so it would be real bad if they went bust over Qualcomm's $7 fee per $1000 phone.
 
Oh good, more evidence of the absurd impact of treating ideas ("Intellectual Property") as being equivalent to *actual* property (tangible things). Good on the judge for recommending that this be taken to the extreme, but logical, conclusion. Hopefully then, more human beings will start thinking with their brain and start to question the validity and morality of IP rights altogether. I doubt it, though.

I am an attorney and used to litigate patent cases. In my opinion, import bans are asinine in 99% of cases, including this one. An iPhone has hundreds of patents that cover its various aspects. Banning import of the device because of a finding of infringement of a single, obscure power management patent is so laughably, grossly disproportionate that I have to marvel at the fact that it’s even a possibility under our patent laws.
I disagree. If IP is the same as physical property, then if someone breaks into my house every morning, steals one of my freshly baked cookies, resells that cookie to another person who then packages it in a cookie tin with 11 other cookies, that 2nd party should not be allowed to resell that tin filled with cookies.

Either "intellectual property" is truly just like physical property, and should be given all of its protection, or it's not (spoiler: it's not real property at all, it's just artificially been made to be by the state).
 
What is claimed is:

1. A multiple Supply Voltage device comprising:

a core network operative at a first Supply Voltage; and

a control network coupled to said core network wherein said control network is configured to transmit a control signal, said control network comprising: an up/down (up/down) detector configured to detect a power state of said core network; processing circuitry coupled to said up/down detector and configured to generate said con trol signal based on said power state;

one or more feedback circuits coupled to said up/down detector, said one or more feedback circuits configured to provide feedback signals to adjust a current capacity of said up/down detector;

at least one first transistor coupled to a second Supply Voltage, the at least one more first transistor being con figured to Switch on when said first Supply Voltage is powered down and to switch off when said first supply Voltage is powered on;

at least one second transistor coupled in series with the at least one first transistor and coupled to said first Supply Voltage, the at least one second transistor being configured to Switch on when said first Supply Voltage is powered on and to switch off when said first supply voltage is powered down;

at least one third transistor coupled in series between the at least one first transistor and the at least one second transistor.

It's covering a way to reduce leakage power during the brief period when a core power supply turns off while the I/O remains powered. Presumably this makes it more efficient to turn power on and off more granularly.

Visually, they added M8 and its gate signal:
View attachment 828603
to what had been the prior art:
View attachment 828604
M5 looks like an implementation detail and mirrors the role of M6 in presumably reducing leakage in the off state. The "signal processor" is described as an inverting amp, so nothing more than the inverting signal amp shown in the prior art.

Alternatively the feedback path can support the power on detection:

View attachment 828607

Or both. But Apple will have violated the claim if they add the single M8 transistor.

So, to everyone screaming "Innovation!", this is what innovation looks like: one transistor added in parallel with another. Humanity advances in baby steps, people...

Thanks. Though, I wouldn't take what the patent characterizes as prior art as gospel.

I haven't checked, but I have to assume that (a) Apple probably found the best prior art out there to invalidate this, and (b) there are pending IPRs at the PTAB that may yet invalidate this separately. If the patent is still valid after all that, one transistor and babysteps and all, it deserves all the protections it gets.
 
Just buy Qualcomm already Apple and put them out of their misery.

Why would they do that? As other courts all around the world have already decided, Qualcomm is abusing their patents and has paid billions in fines already.

Apple is playing the long game here. A minor temporary setback like this ruling (which is still a long way from being final) isn’t going to cause Apple to worry. Qualcomm is getting desperate by filing unrelated nuisance lawsuits hoping to try and gain leverage over Apple. Apple isn’t biting. The FTC case against Qualcomm along with the upcoming Apple case are the ones to watch, not this sideshow Qualcomm is trying to get people to pay attention to.
 
Qualcomm has explicitly said Intel modems don't infringe, and has claimed that the resulting implementation in Apple's phones violates their patents.

Are you referring to the patent in question here? Or to Qualcomm's cellular SEPs in general?

The '674 patent in question here isn't about cellular modems.

When it comes to Qualcomm's cellular SEPs, I'm familiar with some of the arguments (and assertions) which Qualcomm has made regarding, e.g., Intel's use of (and thus, potential infringement of) those patents. Qualcomm has essentially argued that, e.g., Intel doesn't actually implement relevant standards by making cellular modems and thus Qualcomm doesn't need to license its cellular SEPs to Intel. But Qualcomm lost on that argument with Judge Koh.
 
Register on MacRumors! This sidebar will go away, and you'll see fewer ads.