
DigiTimes reports that Apple has received samples of large-size touch panels that would be used in a new touch-capable iMac. According to the report, Sintek Photronics is utilizing projected capacitance touch technology for the panels.<p class="quote">Projected capacitive touch panels are typically produced by placing touch sensors over the panel, and then a cover glass over the sensors. The conventional method is not only costly and complex, but affects display brightness.
The new iMac is rumored to have a good vertical and horizontal viewing angle, and its projected capacitive touch panel will adopt a one-glass solution, which integrates the touch sensor and cover glass, to reduce thickness and weight.</p>Rumors of a touchscreen iMac surfaced in January, with claims of a 22-inch model set to debut sometime during 2010. A second rumor made the rounds in June claiming that Apple would be holding a special event to introduce a touch-enabled iMac capable of running both Mac OS X and iOS within the following two months, although that event obviously failed to take place.
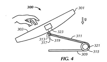
A recently-disclosed patent application has also fueled rumors for its discussion of how a desktop computer could use physical hinges and accelerometers to transition between a traditional mouse-driven desktop setup and a more horizontal touch-friendly orientation.
Given the report's claims that Apple is only just now receiving samples of the touch panels that would be used in such a device, it is extremely unlikely that Apple would be able to make a 2010 launch for the new iMac as had been previously rumored. It would indicate, however, that progress is being made toward a potential 2011 release.
Article Link: Apple Testing Touchscreen Panels for Future iMac?
