Become a MacRumors Supporter for $50/year with no ads, ability to filter front page stories, and private forums.
That's why LP provides backward compatibility for things like FireWire, USB, etc.

It's still PIA, there will still be new adapters etc... it's not as simple as supporting the standard.

I still vote for USB 3.0, less speed but full, ready backwards compatibility with current peripherals.
 
$$ in hand? ready for upgrade? this would be just like apple to force an upgrade by removing the current commodity. how about USB-3 or BD? or quad core laptops?
 
Firewire uses a controller chip to handle the data transfer, whereas USB uses the CPU to handle the data transfer. This is why Firewire is so much faster than USB. USB caught on because it was cheaper to implement. Does Light Peak use the CPU or a dedicated control chip to handle the data transfer?
 
Transition Will Be Painful For Many

The problem is that Apple has a track record of "suddenly" dropping support for older technology with no transition period. Unless they keep at least one USB and one FW port for backwards compatibility, it will cause a lot of grief until 3rd party suppliers jump in and supply converters so you don't have to go out and buy all new peripherals. This especially true for professionals in the arts who have a LOT of money invested in USB and FW peripherals.

I hope Apple allows for a several year "grace period".
 
If that's the Lightpeak connector, they've got it wrong: It's USB all over again. No quick way to tell which side is "up".

Every once in a while I attempt to plug a USB and the inherent pressure needed to plug it makes me fear I may be doing it wrong, so I switch and try with the "right" side only to find out I was right from the start but didn't push strong enough.

(Especially in -say- the back of the iMac, where you can't directly see the innards of the female socket)

In this respect, Firewire was waaaay cooler.

USB cables have the logo on the "up" side (or "front" side, if the USB ports are vertical). I imagine LP will do the same.
 
Honestly, why even bother with wired technology at this point? Apple has already made their bed in the consumer arena, and the future of consumer electronics is wireless.
Good question, glad you asked.

Speed & Convenience.
When you plug in your external hard drive, whether it be via FireWire (RIP) or USB, you get:

  • Plug & Play (No configuration)
  • Powers device (No wall socket)
  • Solid connection (Faster than WiFi)
EVEN IF they made "wireless hard drives" you would have to plug it into a wall socket, configure it to use on your computer and password protect it so others can't access it. If you've ever used AirDisks, you'd know it's truly not wireless. The drive still has to plug into the Airport, which needs to be plugged into the wall and the router which also needs to be plugged into the wall as well as your cable or phone line.

Wired peripherals takes all those worries away. It takes 1 second to pop in a thumb drive and maybe 3 more seconds to mount on your desktop. It doesn't need password protection because your obviously the user who plugged it in.

The convenience factor is why people are so pissed about lack of ports on new Mac notebooks. It's safe to say most Mac users have an iPhone or iPod as well as a thumbs drive and a printer. Most people don't like unplugging one device for another. Whether you're printing a bunch of papers, copying files to or from your hard drive or syncing your iPhone- YOU HAVE TO WAIT. The textbook solution of "just buy a USB hub" isn't really so convenient considering that it's one more device you'll have to pack and you'll have even more wires to ground your "revolutionary notebook" that runs around boasting how light and wireless it is.

Then you have power users like myself who use 10-20 peripherals. I have:


Granted, serious professionals should be using a Mac Pro or a maxed out quad G5, but most of us have a Mac notebook as an "portable" addition/extension to our workstation. Sure, we're in the minority, but we spend the most $$$$$ on Apple products, not to mention we're the original Mac supporters that carried Apple through the dark ages.
blackapple.gif


/Thread


 
Last edited:
As an Amazon Associate, MacRumors earns a commission from qualifying purchases made through links in this post.
There's better technology available - why not use it? As soon as a company begins to say "Ehh... what the customer has is already more than adequate for their needs" it will start to lose market share. Let me decide what I will or won't use - just give me the best technology available... especially when I'm willing to pay $2,000 for a laptop.

I agree, even a young Steve Jobs use to quote Henry Ford, "If I asked my customers what they want, they simply would have said a faster horse."
 

Now that's just ridiculous.

Ams.
 
As an Amazon Associate, MacRumors earns a commission from qualifying purchases made through links in this post.
Firewire uses a controller chip to handle the data transfer, whereas USB uses the CPU to handle the data transfer. This is why Firewire is so much faster than USB. USB caught on because it was cheaper to implement. Does Light Peak use the CPU or a dedicated control chip to handle the data transfer?

It uses...



























Magic.
 
Wirelessly posted (Mozilla/5.0 (iPhone; U; CPU iPhone OS 4_2_1 like Mac OS X; en-us) AppleWebKit/533.17.9 (KHTML, like Gecko) Version/5.0.2 Mobile/8C148a Safari/6533.18.5)

darknite38 said:

LightWire.

You heard it here first.
 
Wirelessly posted (Mozilla/5.0 (iPhone; U; CPU iPhone OS 4_2_1 like Mac OS X; en-us) AppleWebKit/533.17.9 (KHTML, like Gecko) Version/5.0.2 Mobile/8C148a Safari/6533.18.5)



LightWire.

You heard it here first.

I think apple will incorporate LightPeak into the Magsafe power adapter. so I dont think they will brand it per say. I think they will impliment the technology. but not accentuate on it.
 
Color me skeptical. Apple has been ignoring new technology for a few years (Blu-Ray, eSATA, USB3, HDMI, multichannel audio, deep color, still uses Core 2 Duo in half the Mac lineup, video cards on the Mac Pro are years out of date).

I partially don't agree with you because:

Blu-Ray: is just a marketing format for movies.
USB 3.0: people is expecting LP to emerge, no point of implementing it.
HDMI: Apple has already the DisplayPort, adding HDMI is just one port more on a MacBook, in a way pointless.
C2D: is not a problem that affect only Apple, technology has been stuck for a while because of Intel/nVidia dispute.

Moreover, technology for a few years didn't progress THAT much. We all have the latest BlueTooth and WiFi in every Mac, unibody aluminium case, multigesture trackpads, blade style flash storage.

I don't think that Apple is leaving technology behind. Not always there is a leap such as "we are going to be the first to use USB" and now that there is a new leap to do with LP people still complain that they want an "irrelevant" USB 3.0.
 
What wireless channel are you using? If most of your neighbors are using the default of channel 6 (in the US at least) you can get much better reception by switching to channel 1 or channel 11. (The channels overlap - so moving to channel 5 from channel 6 would only be a small improvement. The top, bottom and middle channels don't have significant overlap.)

1 - 12 are all in use. It also doesn't help with people using BT Home Hubs as they seem to change channel every time they are rebooted!
 
the funniest thing in this thread, apart from the bloke moaning about breaking wires, is the ones moaning about USB sucking cos you can put it in the wrong way round... most other cables are like that too!
 
the funniest thing in this thread, apart from the bloke moaning about breaking wires, is the ones moaning about USB sucking cos you can put it in the wrong way round... most other cables are like that too!

no, most other cables are not like that.

Final-Firewire.jpg

LP5XJhKVNgqaKay3UvDIgOC-1RK3BqJ6ZgrapzzRvnT_BGuomHY8jVlKivLV8Lc-OI5Hd33yu-3m_E81_rD7vOOizaORhrN3OzDeGgB30NGwFSemzvDgSvUEu3ppoA7h2QKfyF_aOg

qNwYZAN3sKfs8E0ThF56yunuKZd3lGKBlTNvPNB3fFdsJG0PHNzHCt0vj1LhzqZROXHnsoe7uS2PAnfWMcVO73P_pDR7Q521Cv9VV7ujL70gHdzcPQIeeNy78lhO


When connectors ARE symmetric, usually it doesn't matter which way they are plugged in.
 
no, most other cables are not like that.

When connectors ARE symmetric, usually it doesn't matter which way they are plugged in.

There's PS/2, DVI, some others that i just can't be bothered to go check as it's late here. also HDMI is easy to mix up if you're not fully paying attention.
 
100 posts in this thread, and no one has brought up the patent that was the headline just a few days ago.

magdata.jpg

I think that patent is a replacement for this:

apple-laptop-event-071.jpg

the funniest thing in this thread, apart from the bloke moaning about breaking wires, is the ones moaning about USB sucking cos you can put it in the wrong way round... most other cables are like that too!

MagSafe can be insert right side up or upside down.

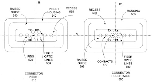
The connector there has:

TX RX
RX TX

Guess if you put them upside down what you get?

TX RX
RX TX

IS THE SAME! :eek: AMAZING!
 
1 - 12 are all in use. It also doesn't help with people using BT Home Hubs as they seem to change channel every time they are rebooted!

That sucks. Have you tried 5 GHz - that's a great idea that I didn't think to mention.

A couple of years ago my husband and I did a major remodel, and one of the things we did was to run structured cabling with Cat6 outlets in the bedrooms, offices, multiple places in the kitchen, laundry and entertainment room all leading to the GbE switch in the wiring closet. We also have WiFi, but it's always been substandard. It's handy for guests or a quick web check, but if you need to connect to the Home Server for a backup or download we keep retractable RJ45 cables near the jacks. (It's a 2000 sq ft single story wood frame house - not a monster nor difficult construction.)

We had some friendly debates with an Apple-loving friend who had a couple of airport and other WiFi access points, with computers in three rooms of his house plus the kitchen and a Mini-Mac as an HTPC. He laughed at us for running Cat6 instead of depending on WiFi. We said "WiFi sucks", he said it "works fine".

I smiled (but didn't say anything) when I got a call from him this fall:

q: I have a network question. We hired an electrician to put in Cat6 to the upstairs, the kitchen and the den. The guy's here, but he only has Cat5e cable - is that good enough? He says that he can come back with Cat6, but probably not for two or three weeks.

my answer: Decent Cat5e will be fine for your house....

(under my breath) Snicker, snicker.
 
Last edited:
MagSafe can be insert right side up or upside down.

The connector there has:

TX RX
RX TX

Guess if you put them upside down what you get?

TX RX
RX TX

IS THE SAME! :eek: AMAZING!

you totally missed my point.... :rolleyes: i was stating that the people moaning about trying to put USB in the wrong way round was hysterical. i was not even remotely referring to the magsafe connection, which i had read about in the thread. i thought that if someones only complaint about trying to put USB cables in the wrong way round then they are really scraping the barrel to complain about USB. you can easily tell which way up USB goes in the same way as any other cable that the other bloke listed a coupla posts up, look at the end of it. simples.
 
no, most other cables are not like that.

Final-Firewire.jpg

LP5XJhKVNgqaKay3UvDIgOC-1RK3BqJ6ZgrapzzRvnT_BGuomHY8jVlKivLV8Lc-OI5Hd33yu-3m_E81_rD7vOOizaORhrN3OzDeGgB30NGwFSemzvDgSvUEu3ppoA7h2QKfyF_aOg

qNwYZAN3sKfs8E0ThF56yunuKZd3lGKBlTNvPNB3fFdsJG0PHNzHCt0vj1LhzqZROXHnsoe7uS2PAnfWMcVO73P_pDR7Q521Cv9VV7ujL70gHdzcPQIeeNy78lhO


When connectors ARE symmetric, usually it doesn't matter which way they are plugged in.

I do not really see a big difference. It's not like one can insert USB 2.0 plug the wrong way. You try, if it does not fit you flip the plug. If one want to know the right way up front - look at the plug. For horizontal ports (all ports in laptops where it matters the most), make sure that the USB symbol is on top (or that the plastic inside th plug is on the bottom). Is this any different from, say, FW? I do not think so.
 
Wirelessly posted (Mozilla/5.0 (iPhone; U; CPU iPhone OS 4_2_1 like Mac OS X; en-us) AppleWebKit/533.17.9 (KHTML, like Gecko) Version/5.0.2 Mobile/8C148 Safari/6533.18.5)

I wasn't arguing against you, I though I read someone else saying that this design wasn't good because upside down it wouldn't work. I might have misread but I was supporting your statement at most.
 
Register on MacRumors! This sidebar will go away, and you'll see fewer ads.