
Today, the US Patent & Trademark Office published Apple patent application number 20140125825 that describes a method of producing super-resolution images using optical image stabilization (OIS) and burst-mode photos (via AppleInsider). This may allow future models of the iPhone to generate images that exceed the megapixel resolution limits of the camera hardware.
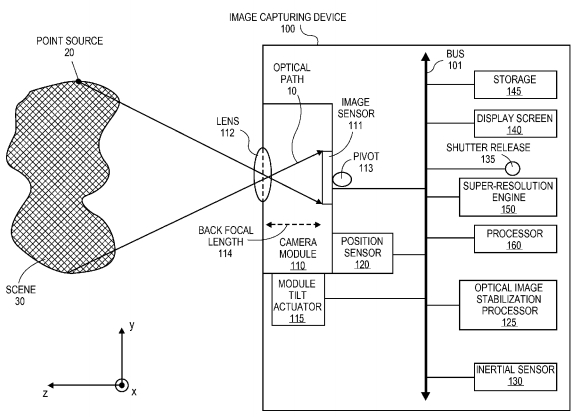
Image stabilization allows for sharper photos and videos by utilizing motion tracking and other technology to remove the effects of device shakiness during capture. Apple currently offers software-based image stabilization in which the device takes four photos in quick succession and the combines them to reduce blurring., but the company has been rumored to be looking to improve this system. While OIS would embed the technology directly into the camera hardware, improved electronic image stabilization would allow for the iPhone to have a slimmer camera that does not protrude outside the device.A system and method for creating a super-resolution image using an image capturing device. In one embodiment, an electronic image sensor captures a reference optical sample through an optical path. Thereafter, an optical image stabilization (OIS) processor to adjusts the optical path to the electronic image sensor by a known amount. A second optical sample is then captured along the adjusted optical path, such that the second optical sample is offset from the first optical sample by no more than a sub-pixel offset. The OIS processor may reiterate this process to capture a plurality of optical samples at a plurality of offsets. The optical samples may be combined to create a super-resolution image.
Rumors from earlier this year suggested Apple could incorporate Optical Image Stabilization (OIS) technology into its upcoming iPhone 6, possibly contracting with InvenSense to supply the necessary hardware. The company's work on the technology has also surfaced in other patent filings, leveraging the expertise of Richard Topliss an engineer recruited from Cambridge Mechatronics in early 2012. The most recent rumor from ESM China analyst Sun Chang Xu claims, however, that Apple may equip the iPhone 6 camera with an improved sensor module and an electronic image stabilization system.
Article Link: Future iPhones Could Capture 'Super-Resolution' Photos Using Optical Image Stabilization