
InformationWeek points out a few new Apple patent applications that were just filed and published which describe technologies that will likely appear in Apple's Snow Leopard (10.6) operating system.
Snow Leopard promises to deliver improved Multi-Core processor and Mac graphics processor unit (GPU) support to applications. While all of Apple's Macs have moved to Multi-Core processors over the past few years, applications have been slow to take full advantage of the multiple cores due to the complexity involved. Similarly, most of Apple's Macs ship with advanced GPUs for improved graphical performance and these specialized processors could also be tapped for general computing purposes. With Snow Leopard, developers should be able to more easily take advantage of this existing hardware to improve the performance of their applications.
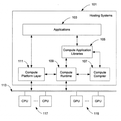
The patent application called Data Parallel Computing on Multiple Processors describes methods to accomplish the distribution of these tasks:
In the patent application itself, the inventors describe that some of the GPUs may be connected in Scalable Link Interface (SLI) or CrossFire configurations. These terms describe the simultaneous use of dual GPUs as we have discussed recently.A method and an apparatus that allocate one or more physical compute devices such as CPUs or GPUs attached to a host processing unit running an application for executing one or more threads of the application are described.
InformationWeek points out that some of the inventors listed have previously worked at ATI. The patent documents also publish details under the "OpenCU" label:
The "Apple Confidential"-labeled document (pdf) is publicly available for those more technically inclined.This document describes an embodiment of an architecture, referred to as OpenCU (Compute Units), for parallel computing. The OpenCU architecture enables a data and thread parallel computing model and allows users to view a GPU or a CPU (single-or multi-core) as a data parallel compute device. The OpenCU specification describes an API and a programming language that can be used to create and manage parallel programs.
Article Link: Apple Patent Provides Peek at Snow Leopard Technologies