Become a MacRumors Supporter for $50/year with no ads, ability to filter front page stories, and private forums.

Casiotone

macrumors 6502a
Original poster
ModNote: Jump to Page 1 Article. --mkrishnan

In light of new evidence that show that the recent leaked iPhone 4G prototype are probably real (the debate now being more about if the released product will look like the prototype), I think that what's been identified by many as a glass back is really made of ceramics, like zirconia.

233204-iphone4back1_500.jpg


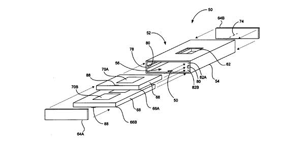
A patent application from 2006 reveals that Apple has been experimenting with ceramic enclosures for a while. The manufacturing process might have been a little more complex than expected, so that would be why Apple didn't release any ceramic enclosure before.

apple-patent-061130-zar-2.jpg


http://appft.uspto.gov/netacgi/nph-...28".PGNR.&OS=DN/20060268528&RS=DN/20060268528
https://www.macrumors.com/2006/11/30/radio-transparent-materials-in-iphone/
http://hrmpf.com/wordpress/102/radio-transparent-zirconia-iphone

Ceramics like zirconia have many advantages over plastic and metal for a device like a phone:

From the patent:

Some of the reasons for using ceramics over other materials is that it is structurally strong, stiff and radio transparent. This is especially important for wireless hand held devices that include antennas internal to the enclosure. Radio transparency allows the wireless signals to pass through the enclosure and in some cases enhances these transmissions. Other reasons for using ceramics is that they are highly scratch resistant, have color embedded in it (no paint or coatings), can be made into a wide variety of colors, and provides a variety of surface finishes including smooth and rough. Furthermore, the density of ceramics is typically higher than other materials therefore their weight is higher for the same sized part. This additional weight makes the handheld device feel more robust and it makes the device exude greater quality.

Usage of ceramics would explain why the back is not curved like previous iPhones. And while glass is also "radio transparent", it's much less durable and would be much more likely to break than ceramics if you dropped the device. I don't see Apple selling an iPhone with an enclosure almost entirely made of glass.

Edit: John Gruber seems to agree with me.
 
Wow. WWDC is going to be interesting. How “green” would it be? Has anyone ever made a phone out of ceramics before?
 
Wouldn't that be crazy expensive? If its anything like the price increases you see in Nixon watches. They sell the same model in ceramic and one in stainless steel. The ceramic is way more expensive. Maybe thats just marketing though.
 
Wouldn't that be crazy expensive? If its anything like the price increases you see in Nixon watches. They sell the same model in ceramic and one in stainless steel. The ceramic is way more expensive. Maybe thats just marketing though.

It's probably partly marketing, but I think that the ceramic molding process is the expensive part. While these watches are made of many small and relatively complex molded parts, the iPhone back looks like a simple flat slab of ceramic.

What "evidence" says the leak is real?? Looks like everyone's arguing about it to me.

Pictures of the iPad have been leaked the night before the official unveiling. The iPad in these pictures look exactly like the unveiled product. In these pictures you can see an iPhone that matches the one seen in recent iPhone 4G pictures. What most people are arguing about now is whether the final product will look like the prototype. People that still think it's all fake haven't figured out that the matches comes from leaked iPad pictures.

Anyway if you want to debate about the veracity of the iPhone 4G pictures, there are other threads for that.
 
Usage of ceramics would explain why the back is not curved like previous iPhones.

Ceramics can be made into virtually any shape, the fact that the back is not curved doesn't mean anything. A ceramic back could be curved just like the iPhone is now.

And while glass is also "radio transparent", it's much less durable and would be much more likely to break than ceramics if you dropped the device. I don't see Apple selling an iPhone with an enclosure almost entirely made of glass.

Glass is a ceramic. Ceramics are typically highly brittle. Plant pots, your typical non-plastic plate, floor tiles, and bricks are all common examples of ceramics.
 
What "evidence" says the leak is real?? Looks like everyone's arguing about it to me.

Engadget has pointed out that the same device appears in their leaked photo of an iPad prototype from earlier this year. Since it was not pointed out at the time, it seems highly unlikely that it was a fake planted in the photo to substantiate a planned iPhone fake months down the road.

I'm willing to accept that this is at least a legitimate prototype. I would not be surprised if the final styling is significantly different; this strikes me as a hand-made prototype designed to test materials and components. Still, I think this makes the presence of a front-facing camera on the next model a near-certainty.

Pictures of the iPad have been leaked the night before the official unveiling. The iPad in these pictures look exactly like the unveiled product.

This is a bit of an exaggeration. The iPad prototype in that photo has the overall form factor, aspect ratio, and button-layout of the final iPad, but it is a clunky, hand-made prototype with none of the iPad's styling and very different materials. It also appears to have a front-facing camera which disappeared from the release version. Certainly it does not "look exactly like the unveiled product."
 
Ceramics can be made into virtually any shape, the fact that the back is not curved doesn't mean anything. A ceramic back could be curved just like the iPhone is now.

I guess you're right about that, but maybe having a curve shape would exacerbate the brittleness problem?

Glass is a ceramic. Ceramics are typically highly brittle. Plant pots, your typical non-plastic plate, floor tiles, and bricks are all common examples of ceramics.

Maybe they are "typically", but zirconia (a material referred to in the Apple patent) can be made much less brittle by a process called transformation toughening. The same process can't be easily applied to glass (though other methods exist to make glass tougher).

From the Wikipedia article :
Transformation-toughened zirconium oxide (TTZ) is an important high-strength, high-toughness ceramic that has been developed during the past 25 years.

This is a bit of an exaggeration. The iPad prototype in that photo has the overall form factor, aspect ratio, and button-layout of the final iPad, but it is a clunky, hand-made prototype with none of the iPad's styling and very different materials. It also appears to have a front-facing camera which disappeared from the release version. Certainly it does not "look exactly like the unveiled product."

Are you basing this only on the photo where the iPhone prototype can be seen? Because there were other pictures from the same series and the same source:
http://www.engadget.com/2010/01/27/is-this-the-apple-tablet/

01-27-10apptabrf.jpg


While I guess I shouldn't have used the word "exactly", but I think that these pictures were close enough to the real thing to prove that these were indeed real pictures from some Apple testing facility, which is my point. If those were real, then the iPhone prototype is too.
 
I guess you're right about that, but maybe having a curve shape would exacerbate the brittleness problem?

Maybe they are "typically", but zirconia (a material referred to in the Apple patent) can be made much less brittle by a process called transformation toughening. The same process can't be easily applied to glass (though other methods exist to make glass tougher).

From the Wikipedia article :

Curving a structure helps to dissipate forces (think arched bridges).

When it comes to materials science strength and toughness are very technical terms with very specific meanings (I studied the subject at University). For example toughness is a resistance to fracture at high stresses, this has nothing to do with brittleness. Any type of impulse loading and ceramics become obsolete when compared to more ductile materials such as metals or some polymers.

Also as a mechanical engineer/academic let me advise you to ignore wikipedia. I can't begin to tell you how many students have gotten misinformation from this website.
 
iPhone 4G to Have Glass/Ceramic Back, User Removable Battery?



Seems more people are becoming convinced that the iPhone 4G images leaked by Engadget over the weekend are indeed legitimate. In fact, the report that the pictured product is actually a Japanese counterfeit has been retracted and was itself a false claim.

Daring Fireball's John Gruber now believes the images are real and that the next generation iPhone looks like the images depicted. Gruber also adds a detail that he has heard that the new iPhones will have a "fancy glass" back.
Multiple sources familiar with the next iPhone have confirmed to me that the back is made out of some sort of fancy glass — and looks pretty much exactly what’s pictured at Engadget. That’s not the only reason I believe Engadget’s unit is legit, but it’s one.
He points to a 2006 Apple patent application which describes the use of Zirconia as a durable and radio-transparent material that might be used.
A portable computing device capable of wireless communications, the portable computing device comprising: an enclosure that surrounds and protects the internal operational components of the portable computing device, the enclosure including a structural wall formed from a ceramic material that permits wireless communications through.
Now, if you do believe that these images do represent the next generation iPhone, one interesting detail noted by an Engadget commenter is that it appears to allow for a user removable battery.


233129-iphone 4g_500.jpg


This annotated image shows break points in the casing that suggests the side compartment might be removable to allow the user to replace the battery. The iPhone, of course, has never allowed for a user removable battery in the past.


Article Link: iPhone 4G to Have Glass/Ceramic Back, User Removable Battery?
 
Removable battery? Yes. Design? No.

They need to compete with competitors. It is only logical for their phone where the environment is much more hostile compared to mp3 players or computers for them to skimp on design for audience.
 
Am I the only one who DOESN'T want a user-replaceable battery? I feel like it will affect the phone's design in a bad way.
 
Okay, if we are going to assume it has a removable back then what is the point of having the SIM card tray on the side of the case if you could just access it from the back? It also seems like glass or ceramic would be cost prohibitive compared polymer.
 
Am I the only one who DOESN'T want a user-replaceable battery? I feel like it will affect the phone's design in a bad way.

With apple making their own custom batteries, I doubt they will go this route...

Please almighty Steve! Don't let my pocket lint have a door to my iphone internals....
 
Not too keen on the possibility of a removable battery. Who is really going to swap batteries?

Most interesting rumor weekend.
 
i like the design.

I like it also but how will it fit in a person hand, the phone we have now fits nicely in a hand because its rounded, but this one does not look like its as rounded and a bit chunky, i wonder how that will change the feel of the phone.

Either way I do like the metal side, but I thought more metal was not a good things for reception?
 
I'd hate to be the Apple employee to left it at the bar. Then I'd hate to be the boss that tried to pass a little disinformation to say it was a rip-off copy. I bet we see a couple job postings at Apple for iPhone tester and test manager.... 🙂
 
Well, I was sure skeptical, but it is sounding plausible. I still think there might be a slightly different design than the one shown. Who knows? I am ready for it to be announced!
 
Register on MacRumors! This sidebar will go away, and you'll see fewer ads.