Become a MacRumors Supporter for $50/year with no ads, ability to filter front page stories, and private forums.
Meh, I don't like iPad. Along with the other jokes that may conjure up, it sounds/looks too much like (Compaq/HP) iPaq. Apple should be better than that (although, MacBook still has yet to roll off the tongue as nicely as PowerBook --- and it's been how many years now?)

iBook would be a cool name, for nostalgia's sake.

Canvas? Maybe.
 
A Dream from the beginning of January

I actually had a dream about 2 weeks ago in which my Sales class was invited to preview the new tablet that Apple would soon release. In this dream they referred to it as the iPad. Compared to the other materials that were mentioned from different sites to create the product, in my dream it was a large version of the iPhone with the black and white backings for two models instead of aluminum. Using it was just like you would imagine a REAL multi-touch device would be like if it were just smaller than an average laptop screen. If you turned the device on its side to create a landscape mode, the charging port was on the bottom side of the device, unlike the iPhones area being on the bottom of the portrait mode. I actually just wanted to get this in writing out on the web, just in case it were to become reality.
 
I called it :)

Ok so I haven't read this whole thread and maybe a bunch of other people called it too, but:

I called it the iPad back in August.

https://forums.macrumors.com/threads/767437/

( and this is actually the 2nd reference to it... earlier there was a thread where I wrote about calling it either iPad or resurrecting the iBook name but searching on this forum is painfull and I can't find it. Could have been on AppleInsider maybe... )

Anyway I'm sure I'm not the first, but just incase I am...
Do I win a cookie? :D
 
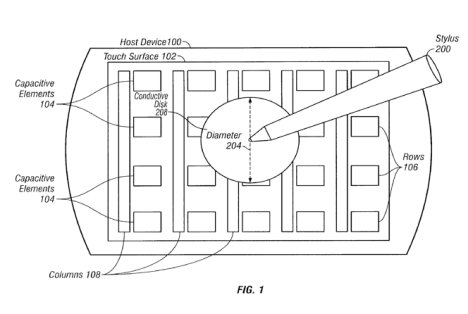
Will the iPad have wings?

One of the patent app sketches showed a tablet concept with curved edges that looked like "wings" (shaped like a PSP almost).

patent-100114-1.jpg
 
iBoring

This tablet is going to happen. My mac dealer showed me literature about it.

You know that you are under duty to share, don't you?





Personally, I like Mac Tablet and iTab, but iDon'care. After all, I want to see the damned thing first, this waiting is sickening.
 
What about the Apple Slice :D

I think they should drop the "i" prefix and use "apple" as in "appleTV".

So something like:

:apple:Canvas
:apple:Pad
:apple:Tablet
:apple:Slate
:apple:Slice

I'm guessing SLATE or CANVAS... the others sound too generic.
Look at their other namings - most are unique sounding:

Air
Nano
Mini
Touch
Shuffle

Ok, so
iPhone and :apple:TV aren't so unique sounding... meh whatever, just tell us already!!!
 
How about MacPad or MacTab? You know, because its essentially gonna be a macbook type of power? I personally like Apple
Mult-iMac
 
Horrible, sounds like an Apple branded feminine hygine product.

Wow... that sophomoric 'joke' has only been told about 1000 times on this forum alone.

I'm starting to put my $$ on iPad.
As far as the 'i' prefix, yeah its a little old, but its also a closely guarded brand at this point. Just think how clumsy the 'touch' name has been and how many people call it an iTouch despite its real name.

This is marketing and whatever Apple calls it, it will sound just fine in retrospect after its ingrained in the common vernacular.
 
iPad is just ill.

Tablet, iTablet, macTablet, or :apple:Tablet is beyond unimaginative.

Tab instead of tablet is even worse.

Names with Slate or Canvass imply that the device will primarily be a creative input device. I think the consensus is that it will primarily be a media consumption device, with the possibility of being a creative input device secondarily.

Picasso is cool, but Google would have a fit as it’s too close to Picasa.

Media event for the “mobility space” huh?

What about iGo or youGo [to the App Store and buy lots of stuff now]?

iTrek? Would Roddenberry’s estate spazz?

Games, music, TV, movies, books, and periodicals huh?

What about iPlayer?

Personally I like Little Buddy for the 7” and Skipper for the 10”. Apple could buy the rights to those names with the change they find in the sofa cushions.
 
E-reader = MacBook

I think the device will join the MacBook line, not the iPod line. Hence the Slate/Tablet will be called the 'MacBook Slate' (It is supposed to have an E-reader function) and will join the MacBook Air and MacBook Pro models in the portable line up.

Also I think the appearance will be a machined aluminium case to create an aesthetic link to all of the other Mac models, whilst the OS will be based on the iPhone/iTouch to give it an interface link to the iTouch/iPhone models. This would create a seamless link across the entire product range. And allow the 'MacBook Slate' product to function as the crossover device that funnels new users into the Mac user base.

14 years old start out with an iPod Touch,
trades up to a iPhone,
trades up to a Macbook Slate,
trades up to a MacBook Pro / Air,
trades up to a iMac,
trades up to a Mac Pro

And all linked together with mobile me!

Creating lifetime loyalty to the Apple brand.
 
14 years old start out with an iPod Touch,
trades up to a iPhone,
trades up to a Macbook Slate,
trades up to a MacBook Pro / Air,
trades up to a iMac,
trades up to a Mac Pro

Except, most kids need the iMac when they're 14 months old (about the time they can start to work the mouse).
 
I think the device will join the MacBook line, not the iPod line. Hence the Slate/Tablet will be called the 'MacBook Slate' (It is supposed to have an E-reader function) and will join the MacBook Air and MacBook Pro models in the portable line up.

My thinking is that the mac prefix implies full Mac OS and not the mobile OS, and I think this new device will use a new and improved mobile OS. Besides there are already e-reader apps for the mobile OS.
 
Register on MacRumors! This sidebar will go away, and you'll see fewer ads.