Become a MacRumors Supporter for $50/year with no ads, ability to filter front page stories, and private forums.
People are really getting ahead of themselves with Safari. That's really nothing we will see in the iPod in the next year. Video is the next revolution and Safari doesn't really add anything to the iPod experience especially when barely anyone has access to Wifi when they are sitting on the bus or are on the move.

Safari is at the moment pretty useless in a WiFi iPod.



Ermmm Apple would actually make less money if they over charged for an iPod because less people would buy it and choose what the competitors are offering for much less money.

Even though a percentage a people would consider buying a $500 DAP it doesn't mean that they want to. People want value and at the moment there is barely nothing that Apple could add to an iPod except phone capabilities to make it worth $500

Then let them add phone capabilities.

I think that September 5th might see a whole new overhaul of their entire Mobile product line.

Maybe they'll release an iPhone Nano for $149 and $249, and the current iPhone will die and get replaced with an identical product but with HDD inside.
 
I think that September 5th might see a whole new overhaul of their entire Mobile product line.

Maybe they'll release an iPhone Nano for $149 and $249, and the current iPhone will die and get replaced with an identical product but with HDD inside.

Not happening.

Further more September is all about iPods.
 
Not happening.

Further more September is all about iPods.

The iPod, as of today, has remained a device that has NO connectivity what so ever. Not wired, not wireless. No way to connect to anybody or anything.

You really think that when they turn it into a widescreen device that is Mac OS X based (correct me if i'm wrong, but a big part of Mac OS X is connectivity, no?), they'll keep it disconnected from the world of communication and internet?
 
I think it's hard to see an iphone nano coming out, not to mention that rumors have been relatively quiet about a product that would be much more popular than the fatboy nano. It would chip away at their high iphone profits (and expensive 2-year AT&T contracts) while angering AT&T (unless it was exclusive, then it would anger everyone else). Plus, it would skip over the middle step of wireless internet (although it must have bluetooth), wouldn't have a phone, would lack the ease of the touchwheel (unless we're looking at rotary phone dials again). The iphone nano, while potentially much greater than the ROKR or current MP3 phones, seems like jumping into an already saturated (although far from perfected) market far too fast.

It appears far more likely that Apple will approach it like they did the IPOD and work on lowering the price and expanding the capabilities. When the AT&T eclusive contract runs out in, hopefully, 2009, then we could see many cheap iphones, but for now, don't bet on it, especially when an iphone nano will do little to convince anyone who didn't switch to AT&T for the iphone to do it now, which leaves them a much smaller market.


Wireless on the Ipod Touch (isn't it amazing that in the space of a few days it has evolved into talking about it like its already availible in stores), however, is a different story. While perhaps not likely, it is at least possible. While it would cut into the profits of the iphone and AT&T, and all of the other reasons people have listed above, there is one thing that I thought of today that makes it seem more likely:

There is nothing (technologically or even economically), that would stop them. They have done it, and they can do it. A wireless module would not cost too much extra if the touch already has OS X (as it would for multi-touch), and it would add internet and email/contacts synching for a low cost.

One year ago, I don't think we would be having this debate because Apple had always (in their computers as well) put the best technology in their products. The iphone has shown a new, more microsoftesque, version of Apple that could withhold something that would be easy (they had it in January), cheap, and would benifit a large number of people. Adding OS X just to have cover flow and multi-touch seems like lost potential.

Finally, Apple has come, for the first time since the launch of the original ipod, serious pressure from competitors (no, I'm not talking about the Zune). Sandisk, Creative, and others have created cheaper, more advanced devices, and Apple is already behind (for $79, the price of a shuffle, you can get a 2gb nano-esque creative Zen V that also plays video (although on a TINY screen)). The touch will catch them up in some regards, but the only way to stay on top (the cool factor, itunes compatibility, and style are becoming less of must-have options) is to jump ahead with a price reduction across the board and newer products that no one has.

So, Apple, we all know that you can do it, and you have not/rarely disappointed us in the past, so please make a WI-FI ipod and one with a large hard drive.


P.S. Maybe in the last few months Apple had time to focus on software, because the one thing that would really drive them to add wireless to the Ipod is if they came up with mobile itunes. Microsoft horribly dropped the ball, but I wouldn't bet on Apple doing the same . They could be updating the software for the Iphone (with this included) to address the many shortfalls that people have addressed and could use that as an opportunity.
 
The iPod, as of today, has remained a device that has NO connectivity what so ever. Not wired, not wireless. No way to connect to anybody or anything.

You really think that when they turn it into a widescreen device that is Mac OS X based (correct me if i'm wrong, but a big part of Mac OS X is connectivity, no?), they'll keep it disconnected from the world of communication and internet?

Just because a device is based on an existing operating system it doesn't mean that it should be a mini computer. There severals DAPs running Linux but that doesn't mean they must have firefox or MS office.

People are getting a bit over existed with the whole OS X thing. It's not a big deal as people think. The iPhone has it but can you transmit files over bluetooth or Wifi? No. Can you install third party software? No.

As for connectivity. The iPod is first and foremost a music player and then a video player. It will be turned into a communication device at a later stage when the former purposes have been perfected. Apple always take one thing at the time and try to do it right until they move on to something entirely new.
 
Like them all you want. With what Apple is gonna do with this iPod, it's gonna be at least $449 and $549.

Are you kidding me? Apple will and I'll say it again, WILL NOT literally double the price of the iPod. People will keep on syaing that it will take away the iPhone's market, if Apple rasies the price points to those above, the iPhone will die in a matter of months. Let's say you have $500 dollars to spend. You choose between an iPhone or the new iPod Touch. iPod Touch has wi-fi, while iPhone still h as its lousy EDGE Network. Including the contract for the iPhone which one would YOU buy?

God Bless Steve Jobs
 
Are you kidding me? Apple will and I'll say it again, WILL NOT literally double the price of the iPod. People will keep on syaing that it will take away the iPhone's market, if Apple rasies the price points to those above, the iPhone will die in a matter of months. Let's say you have $500 dollars to spend. You choose between an iPhone or the new iPod Touch. iPod Touch has wi-fi, while iPhone still h as its lousy EDGE Network. Including the contract for the iPhone which one would YOU buy?

God Bless Steve Jobs

depends on whether i'm in the market for a phone or not.
 
there is so much talk about cannibalization of the iphone, but i don't think we can talk about cannibalization of the iphone in the same manner as we can about, for instance, macbook/macbook pro. the reason that the situation is different is AT&T. because of the third party required of the iphone, there is a whole customer base that isn't being tapped, simply because they can't afford to drop their wireless plan and sign up for AT&T. If i could afford to, i would, but i can't so why not spend $500 on an ipod similar to an iphone. the iphone is a cooler and more advanced product than the ipod, but the cost is much more than the initial purchase, and if i could get an iphone-esqu ipod with a hard drive, i would. and so would a lot of people. it seems that apple would be doing itself a disservice if they didn't release this type of product. Why is it so far-fetched that apple is adding a 4th ipod model to the mix?
 
there is so much talk about cannibalization of the iphone, but i don't think we can talk about cannibalization of the iphone in the same manner as we can about, for instance, macbook/macbook pro. the reason that the situation is different is AT&T. because of the third party required of the iphone, there is a whole customer base that isn't being tapped, simply because they can't afford to drop their wireless plan and sign up for AT&T. If i could afford to, i would, but i can't so why not spend $500 on an ipod similar to an iphone. the iphone is a cooler and more advanced product than the ipod, but the cost is much more than the initial purchase, and if i could get an iphone-esqu ipod with a hard drive, i would. and so would a lot of people. it seems that apple would be doing itself a disservice if they didn't release this type of product. Why is it so far-fetched that apple is adding a 4th ipod model to the mix?

I think the people that say apple won't put Safari and Wi-Fi in an iPod, are those that already bought an iPhone, but would buy this iPod if they had waited.
 
hahaha. yeah, no doubt.

I don't think Apple really cares about AT&T very much. If they release an iPod that has EVERYTHING in it, then they will lose some iPhone sales, but that loss will be directly gained in iPod sales, plus more probably, because they'll be pulling in some customers who wouldn't have bought ANYTHING if they didn't have the option for web browsing and mass storage.
 
I don't think Apple really cares about AT&T very much. If they release an iPod that has EVERYTHING in it, then they will lose some iPhone sales, but that loss will be directly gained in iPod sales, plus more probably, because they'll be pulling in some customers who wouldn't have bought ANYTHING if they didn't have the option for web browsing and mass storage.

that's the way i feel too. it's only cannibalization if the consumer chooses the cheaper one instead of the more expensive one. in the iphone/ipod scenario, it's more like they buy an ipod instead of not buying anything rather than buying an ipod instead of an iphone.
 
I think it has been fascinating to watch the evolution of thought on the new Ipod discussion...I just want to build on these ideas and go through a quick logical analysis on the product line as it might stand...

A very good write-up, sir.

I do, however, think that the top iPod will be 120GB (the 160GB models are not expected to be out until November which is probably too late) and I think a price of $499 for it would not be out of line with the same display and multi-touch capability of the iPhone.

I do not think Apple wants to hit a $599 price point for such a device. At that point, it becomes a harder sell and many folks may say "to heck with the capacity - I'll just get an iPhone for the same price and enjoy much greater functionality". Even at $499, they risk that, but I agree $399 is probably too low ( :( ) of a price for such a unit. $399 works better for the $80GB unit, perhaps. Or even a 32GB flash unit if Apple is so inclined.
 
If the iPod is the "iPod" part of the iPhone, minus ANY connectivity what so ever, + a hard drive, then it should be $249 and $349, but I really don't think they'll do that. They'll have a high end iPod that is up there with the iPhones, for $499 or $599.
 
If the iPod is the "iPod" part of the iPhone, minus ANY connectivity what so ever, + a hard drive, then it should be $249 and $349, but I really don't think they'll do that. They'll have a high end iPod that is up there with the iPhones, for $499 or $599.

Considering the current iPod 30GB and 80GB are $249 and $349, that strikes me as unrealistic for a larger screen, larger drive and multi-touch functionality.

I think $399 for an 80GB and $449 for a 120GB unit would make sense.

Then launch the Mini/Nano at 40GB for $249 and 80GB for $349.
 
I think $399 for an 80GB and $449 for a 120GB unit would make sense.

I fully agree. Remember when the Video iPod came out? I think it was even more expensive than that...so i doubt that it would be any lower. Heck a touch widescreen iPod would be a pretty big advance in technology, you'd expect to pay a premium for at least a year.
 
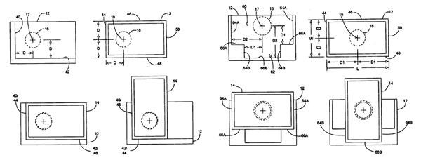
I am just wondering that noone thinks of the wireless (induction) dock...
It was a rumor for the iPhone... why not to use for next gen iPods?


patent-ipod-induction070215-2.jpg

source: www.appleinsider.com
 
I fully agree. Remember when the Video iPod came out? I think it was even more expensive than that...so i doubt that it would be any lower. Heck a touch widescreen iPod would be a pretty big advance in technology, you'd expect to pay a premium for at least a year.

Sorry but a wide screen iPod isn't a technological advancement. Many devices now days have a touch screen. Like I said before in this thread Archos has a DAP with a 4.3 inch touch screen and only cost $349. Apple is going to undercut that.

I believe the iPod Video was priced at $299 when it came out. Don't forget that iPod products share technology which means that Apple can set the price low and at the end they always get their money back. They are a very profitable company since they sell gigantic quantities of the iPods.
 
Archos 605 WiFi, 160GB HDD
High resolution screen 800x480 pixels, 4.3'' TFT LCD, 16 million colors, Touch screen
Battery life: Music playback time: 17h, Video playback time: 5.5h
Dimension & weight: Avg 122 x 82 x 20 mm/4.8'' x 3.2'' x 0.75'' (For 80/160GB* models) - 260gr

Prize 379,- USD @ amazon.com


Hard competitor...
 
Archos 605 WiFi, 160GB HDD
High resolution screen 800x480 pixels, 4.3'' TFT LCD, 16 million colors, Touch screen
Battery life: Music playback time: 17h, Video playback time: 5.5h
Dimension & weight: Avg 122 x 82 x 20 mm/4.8'' x 3.2'' x 0.75'' (For 80/160GB* models) - 260gr

Prize 379,- USD @ amazon.com


Hard competitor...


that is a brilliant device, I was saving up for the 6G ipod but with that screen, that wifi and that price .... 6G has a serious serious competitor!
 
I am just wondering that noone thinks of the wireless (induction) dock... It was a rumor for the iPhone... why not to use for next gen iPods?

Would it be ready in time?

The nice thing about an iPhone and iPod launch in "mid-2007" is that when both products are refreshed in "mid-2008", technologies like the wireless dock and others might be fully mature and released across both product-lines.


Sorry but a wide screen iPod isn't a technological advancement.

In the grand scheme of things, it is not. But it would be an advancement for the iPod Video.


Like I said before in this thread Archos has a DAP with a 4.3 inch touch screen and only cost $349. Apple is going to undercut that.

I am not convinced they have to. When you take into account ease of usability, I think the iPod/iTunes combo has the advantage over WMP players (hardware and software).


I believe the iPod Video was priced at $299 when it came out. Don't forget that iPod products share technology which means that Apple can set the price low and at the end they always get their money back. They are a very profitable company since they sell gigantic quantities of the iPods.

Yes, the original iPod Video 30GB model was $299 with the 60GB at $349. But I think the iPhone screen will compel/inspire folks to watch more movies and iTunes TV shows, and as such Apple may want to start with 80GB instead of 40 or 60GB and therefore warrant a higher price. Especially as the Nano/Mini will now have video playback capability and will become the replacement for the current iPod Videos.
 
Register on MacRumors! This sidebar will go away, and you'll see fewer ads.