Become a MacRumors Supporter for $50/year with no ads, ability to filter front page stories, and private forums.
Wow. So the comment wasn't helpful, and in fact was misleading. I'm trying to understand the nature/function of these threads. It appears useful information and honest discussion isn't it. What is it then?

I returned my Pro 2 because of all the problems. I'd be willing to buy them again if the problems were fixed. But how do I determine if anything was fixed when there is so many unsubstantiated comments?

Thanks.
What problems? I bought my APP2 the day they released and it's been one of the best things I've ever purchased.
 
I've reported a specific issue to Apple that the ANC allows high frequency sounds into the ears. The gym I go to plays the radio at about 60db (measured by the db app on my Apple Watch) through low quality speakers, and I can hear everything above the music that I'm playing from my Apple Watch or my iPhone . I've had to resort to using ear defenders which takes those sounds away. I've noticed this elsewhere too in other situations.

I do understand the need to allow people to be alerted to fire alarms, etc, but it would be so easy for the adjustment to be made, to make the experience some much better. These alarms would certainly still be heard anyway, I'm sure.

I very much hope that Apple has done something about this, because otherwise the AirPods Pro 2 are excellent. The sound quality is a big leap above that of the original AirPods Pro, I like the volume control on the stems, and, mostly, the ANC is excellent, except for the higher frequencies.
The only problem is the anc is so good at the mid lower end it enhances the higher end as there not that good at it and I can hear people talking when I am travelling.

It is reduced but it seems to make it easier to hear them. I wish Apple could somehow reduce voices from people or devices more as it still needs work. Don’t know if we will have to wait for v 3 or a firmware that will improve them.
 
Anyone know if your AirPods Pro 2 will update to this version if you are not on iOS 16? Still on iOS 15.7 and my AirPods Pro 2 never updated to 5A377.

In my experience it wouldn't upgrade from my 13P running iOS15.7 or iOS15.7.1. However, I installed iOS16.2 beta on my M1 iPad and after connecting the AirPods Pro 2 they soon upgraded to A377. I haven't connected the AirPods to my iPad for a few days and they haven't upgraded to this new firmware yet, which would seem to confirm you do need iOS16 for it to happen. YMMV
 
  • Like
Reactions: RagingHamster
Mine updated, and now I am getting drift towards the right side, as if the left one is either going quieter or a microseconds-long delay is being introduced, skewing the stereo balance to the right. Not once did this happen before the update.
im getting sick of Apple updates now
 
  • Like
Reactions: LightsOn45
On another note. Can someone please help. I have song that I recently added that is called “First aid kit - Palomino. In the first couple of seconds there is like an electric guitar playing and in my headphones it creates sort of a scratchy sound. I’m not sure if it’s supposed to be like that because it sounds a bit wrong. Can someone please listen to the song and get back to me?
That's in the source. Happens on speakers as well.
 
WTF is up with all these weirdos saying Apple is "slowly removing ANC"? My AirPods Pro 2 just got updated and the ANC is working perfectly.
 
  • Love
  • Like
Reactions: blob.DK and Jutah
WTF is up with all these weirdos saying Apple is "slowly removing ANC"? My AirPods Pro 2 just got updated and the ANC is working perfectly.
I think they are saying that based on what was found on the AirPods Pro 1 that when firmware-updates got rolled out, the ANC got worse. It wasn’t people imagining it, it got proven the ANC was performing worse than before. So they are writing that as a way of a self-fulfilling prophecy :)
 
Those are all patents for DSP processes particular to identifying voice signals and separating voices from background noise, every single one. None of them have anything to do with traditional phase cancellation. You can't bold "noise suppression" without reading the entire patent summary and classification. According to RPX the suits pertain to Google and Amazon voice assistant devices, not hifi devices with ANC.
"1. Those are all patents for DSP processes particular to identifying voice signals and separating voices from background noise, every single one"

For example:
Patent 8,280,072
Microphone array with rear venting

Is not only about DSP but also about physical placement of the microphones:

Screenshot 2022-11-09 at 09.14.10.png


Patent 8,019,091
Voice activity detector (VAD) -based multiple-microphone acoustic noise suppression

Uses an accelerometer to detect vibration in human tissue:

Screenshot 2022-11-09 at 09.30.03.png


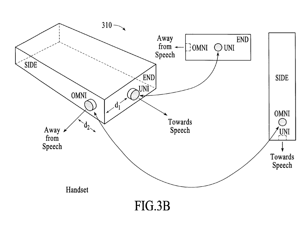
Patent 8,467,543
Microphone and voice activity detection (VAD) configurations for use with communication systems

Describes the physical location of the microphones used to capture sound and noise:

Screenshot 2022-11-09 at 09.33.14.png


"2. None of them have anything to do with traditional phase cancellation."
Correct, the Reddit poster didn't claim that Jawbone is suing Apple about ANC patents. Is about algorithms and
physical innovations that make the ANC to perform better. If Jawbone owned ANC patents, then Apple would have to REMOVE the ANC from his products, which it didn't did (maybe except in the iPhone 13 and 14). They are just performing worse.

"3. According to RPX the suits pertain to Google and Amazon voice assistant devices, not hifi devices with ANC."
I would left the case court link here and quote some relevant parts (just a very small sample of the 65 pages).


Jawbone Innovations vs Apple, Case No. 6:21-cv-00984

INFRINGEMENT ALLEGATIONS
22. The ’091 and ’058 Patents generally describe acoustic noise suppression with a voice activity detector that senses vibration in human tissue associated with voicing activity.

24. Apple has manufactured, used, marketed, distributed, sold, offered for sale, exported from, and imported into the United States, products that infringe the ’091 and ’058 Patents. For example, noise suppression techniques are incorporated into Apple products with voice activity detection devices including, but not limited to, Apple ear buds and smartphones. For example, this functionality is included and utilized in the Apple AirPods Pro. The AirPods Pro include “dual beamforming microphones” and a “speech-detecting accelerometer.

25. The ’072 Patent generally describes acoustic noise suppression with an array of physical microphones which forms an array of virtual microphones.

26. Apple has manufactured, used, marketed, distributed, sold, offered for sale, exported from, and imported into the United States, products that infringe the ’072 Patent. For example, this functionality is included and utilized in Apple products with omnidirectional physical MEMS microphones which form virtual beamformed microphones including, but not limited to, Apple ear buds, smart phones, tablets, wearables, and smart home devices. For example, upon information and belief, the Apple AirPods Pro earbuds comprise arrays of at least four physical microphones and two beamformed microphones, the outputs of which are combined to reduce the noise of a signal. On information and belief, the AirPods Pro earbuds combine the outputs the signals generated by the beamforming microphone array of each earbud to further reduce noise

33. The ’543 Patent generally describes communications systems comprising a voice detection subsystem and a denoising subsystem.
The ’543 Patent also describes microphone configurations wherein a first microphone is oriented toward a talker’s mouth, and a second microphone is oriented away from a talker’s mouth, such that the denoising subsystem may subtract noise associated with noise from an acoustic signal that includes speech and noise

34. Apple has manufactured, used, marketed, distributed, sold, offered for sale, exported from, and imported into the United States, products that infringe the ’543 Patent. For example, noise suppression techniques are incorporated into Apple products with voice activity detection devices including, but not limited to, Apple ear buds and smartphones. For example, this functionality is included and utilized in the Apple AirPods Pro and the iPhone 12 Pro Max. The AirPods Pro include “dual beamforming microphones” and a “speech-detecting accelerometer.” 11 At least one microphone of the AirPods Pro ( e.g. the lower microphone) is oriented towards a user’s mouth, while at least one microphone is oriented away from a user’s mouth
 
Just noticed since the update the pods will not charge past 80% the case is saying 95% it’s like they’re not charging. Even though the symbols is above.

Never had any problems until the update. Any help

When I take them out it says they will be fully charged at 5:30. This normally when I put them in my ears when I go home.

So do the pods just charge to 80% unti then. What happens if u keep
Using on and off all day this would make them not last the 6 hours if I start to use them now that seems silly.
 
Last edited:
Just noticed since the update the pods will not charge past 80% the case is saying 95% it’s like they’re not charging. Even though the symbols is above.

Never had any problems until the update. Any help
Optimised charging?
 
Just noticed since the update the pods will not charge past 80% the case is saying 95% it’s like they’re not charging. Even though the symbols is above.

Never had any problems until the update. Any help
Working as expected then:

Learn about Optimized Battery Charging on AirPods Pro and AirPods (3rd generation)​

Optimized Battery Charging is designed to reduce the wear on your battery and improve its lifespan by reducing the time that your AirPods Pro and AirPods (3rd generation) spend fully charged. AirPods Pro, AirPods (3rd generation), and your iPhone, iPad, or iPod touch learn from your daily charging routine and will wait to charge your AirPods Pro or AirPods (3rd generation) past 80% until just before you need to use them.

Mines were charging up to 100% even with Optimized Battery Charging set. Glad if it's fixed.
 
I've reported a specific issue to Apple that the ANC allows high frequency sounds into the ears. The gym I go to plays the radio at about 60db (measured by the db app on my Apple Watch) through low quality speakers, and I can hear everything above the music that I'm playing from my Apple Watch or my iPhone . I've had to resort to using ear defenders which takes those sounds away. I've noticed this elsewhere too in other situations.

I do understand the need to allow people to be alerted to fire alarms, etc, but it would be so easy for the adjustment to be made, to make the experience some much better. These alarms would certainly still be heard anyway, I'm sure.

I very much hope that Apple has done something about this, because otherwise the AirPods Pro 2 are excellent. The sound quality is a big leap above that of the original AirPods Pro, I like the volume control on the stems, and, mostly, the ANC is excellent, except for the higher frequencies.
I wonder if that is related to the only issue I’ve had with them. When I’m doing lawn work and using the string trimmer and I’m working along a fence, every now and again, the whip crack of the line hitting the fence creeps through ANC. Never happened on the Original AP Pros. Overall though the 2s are better and highly enjoy them.

In note to the Original Post, the firmware update seems just as good at least with ANC, perhaps better but either way, very good
 
I've reported a specific issue to Apple that the ANC allows high frequency sounds into the ears. The gym I go to plays the radio at about 60db (measured by the db app on my Apple Watch) through low quality speakers, and I can hear everything above the music that I'm playing from my Apple Watch or my iPhone . I've had to resort to using ear defenders which takes those sounds away. I've noticed this elsewhere too in other situations.

I do understand the need to allow people to be alerted to fire alarms, etc, but it would be so easy for the adjustment to be made, to make the experience some much better. These alarms would certainly still be heard anyway, I'm sure.

I very much hope that Apple has done something about this, because otherwise the AirPods Pro 2 are excellent. The sound quality is a big leap above that of the original AirPods Pro, I like the volume control on the stems, and, mostly, the ANC is excellent, except for the higher frequencies.
60Db! The dream! Mine blasts it out at 78Db according to my apple watch. They also have the heating on !? It's gym, I want to warm up exercising not boil
 
Is it just me, or are the new AirPods super quiet? Or the 14 Pro Max? I feel like there's definitely been a change.
 
So I experienced the audio drift with my first pair. All music felt like it was focused or centered to the left airpod. Like I was slightly imbalanced or that I had blockage in my right ear. I noticed it was after my firmware update. Replaced with apple and second pair was performing amazing until the firmware updated. I ultimately decided to return them as Apple support was no help as to when a new firmware would be released.

Cut to 3 days later and this firmware has been released 🙃🙃

Can anyone confirm if they had this issue and if it's been resolved. I see answers alluding to potentially both sides?
 
FYI Macrumors Apple does provide information about how to update firmware. About firmware updates for AirPods
Oh wow! Not sure if following these instructions did it, but simply following 1987's post with Apple link on how to check for firmware, between my last post (20min ago) above and this one here, my APP2 firmware have updated to 5B58! Now onto using them to see if I notice any differences, improvements or otherwise.
 
Last edited:
Noise cancellation seems a bit better at the gym, have been using app2 since launch day, also the panning I rarely had is gone .
 
So I experienced the audio drift with my first pair. All music felt like it was focused or centered to the left airpod. Like I was slightly imbalanced or that I had blockage in my right ear. I noticed it was after my firmware update. Replaced with apple and second pair was performing amazing until the firmware updated. I ultimately decided to return them as Apple support was no help as to when a new firmware would be released.

Cut to 3 days later and this firmware has been released 🙃🙃

Can anyone confirm if they had this issue and if it's been resolved. I see answers alluding to potentially both sides?
It’s still there unfortunately
 
So I experienced the audio drift with my first pair. All music felt like it was focused or centered to the left airpod. Like I was slightly imbalanced or that I had blockage in my right ear. I noticed it was after my firmware update. Replaced with apple and second pair was performing amazing until the firmware updated. I ultimately decided to return them as Apple support was no help as to when a new firmware would be released.

Cut to 3 days later and this firmware has been released 🙃🙃

Can anyone confirm if they had this issue and if it's been resolved. I see answers alluding to potentially both sides?

Not had this issue thankfully, not had any problems with mine.
 
Working as expected then:

Learn about Optimized Battery Charging on AirPods Pro and AirPods (3rd generation)​

Optimized Battery Charging is designed to reduce the wear on your battery and improve its lifespan by reducing the time that your AirPods Pro and AirPods (3rd generation) spend fully charged. AirPods Pro, AirPods (3rd generation), and your iPhone, iPad, or iPod touch learn from your daily charging routine and will wait to charge your AirPods Pro or AirPods (3rd generation) past 80% until just before you need to use them.

Mines were charging up to 100% even with Optimized Battery Charging set. Glad if it's fixed.
But that’s when they are on charge both the case and buds. So let say you keep taking them of the charging at 6am every day they will only charge to 80% to 4am and then finish off the full charge maybe an hour before you take them off that’s how the iPhone works and theee before the update.

What’s the point In using them in the morning say like me and the base only charges the buds to 80% and I want to use them. Your not getting your full charge and not getting the 6 hours they advertised.

So everyone on here has the same problem or result then with the new firmware. Most of the time I only use them in the morning and when I go home which by the way did charge to 100% just before I used them but what happens if you keep using them on and off all day how does that work.
 
"1. Those are all patents for DSP processes particular to identifying voice signals and separating voices from background noise, every single one"

For example:
Patent 8,280,072
Microphone array with rear venting

Is not only about DSP but also about physical placement of the microphones:

View attachment 2110468

Patent 8,019,091
Voice activity detector (VAD) -based multiple-microphone acoustic noise suppression

Uses an accelerometer to detect vibration in human tissue:

View attachment 2110475

Patent 8,467,543
Microphone and voice activity detection (VAD) configurations for use with communication systems

Describes the physical location of the microphones used to capture sound and noise:

View attachment 2110477

"2. None of them have anything to do with traditional phase cancellation."
Correct, the Reddit poster didn't claim that Jawbone is suing Apple about ANC patents. Is about algorithms and
physical innovations that make the ANC to perform better. If Jawbone owned ANC patents, then Apple would have to REMOVE the ANC from his products, which it didn't did (maybe except in the iPhone 13 and 14). They are just performing worse.

"3. According to RPX the suits pertain to Google and Amazon voice assistant devices, not hifi devices with ANC."
I would left the case court link here and quote some relevant parts (just a very small sample of the 65 pages).


Jawbone Innovations vs Apple, Case No. 6:21-cv-00984

INFRINGEMENT ALLEGATIONS
22. The ’091 and ’058 Patents generally describe acoustic noise suppression with a voice activity detector that senses vibration in human tissue associated with voicing activity.

24. Apple has manufactured, used, marketed, distributed, sold, offered for sale, exported from, and imported into the United States, products that infringe the ’091 and ’058 Patents. For example, noise suppression techniques are incorporated into Apple products with voice activity detection devices including, but not limited to, Apple ear buds and smartphones. For example, this functionality is included and utilized in the Apple AirPods Pro. The AirPods Pro include “dual beamforming microphones” and a “speech-detecting accelerometer.

25. The ’072 Patent generally describes acoustic noise suppression with an array of physical microphones which forms an array of virtual microphones.

26. Apple has manufactured, used, marketed, distributed, sold, offered for sale, exported from, and imported into the United States, products that infringe the ’072 Patent. For example, this functionality is included and utilized in Apple products with omnidirectional physical MEMS microphones which form virtual beamformed microphones including, but not limited to, Apple ear buds, smart phones, tablets, wearables, and smart home devices. For example, upon information and belief, the Apple AirPods Pro earbuds comprise arrays of at least four physical microphones and two beamformed microphones, the outputs of which are combined to reduce the noise of a signal. On information and belief, the AirPods Pro earbuds combine the outputs the signals generated by the beamforming microphone array of each earbud to further reduce noise

33. The ’543 Patent generally describes communications systems comprising a voice detection subsystem and a denoising subsystem.
The ’543 Patent also describes microphone configurations wherein a first microphone is oriented toward a talker’s mouth, and a second microphone is oriented away from a talker’s mouth, such that the denoising subsystem may subtract noise associated with noise from an acoustic signal that includes speech and noise

34. Apple has manufactured, used, marketed, distributed, sold, offered for sale, exported from, and imported into the United States, products that infringe the ’543 Patent. For example, noise suppression techniques are incorporated into Apple products with voice activity detection devices including, but not limited to, Apple ear buds and smartphones. For example, this functionality is included and utilized in the Apple AirPods Pro and the iPhone 12 Pro Max. The AirPods Pro include “dual beamforming microphones” and a “speech-detecting accelerometer.” 11 At least one microphone of the AirPods Pro ( e.g. the lower microphone) is oriented towards a user’s mouth, while at least one microphone is oriented away from a user’s mouth
Firmware updates don't change the physical placement of microphones. So how could firmware updates be related to this? :)
 
Register on MacRumors! This sidebar will go away, and you'll see fewer ads.